EasyManua.ls Logo

Westerbeke 4.5 BCG - BCA Generator (60 Hertz Only); BCA Generator Internal Wiring Schematic

Westerbeke 4.5 BCG
54 pages
Print Icon
To Next Page IconTo Next Page
To Next Page IconTo Next Page
To Previous Page IconTo Previous Page
To Previous Page IconTo Previous Page
Loading...
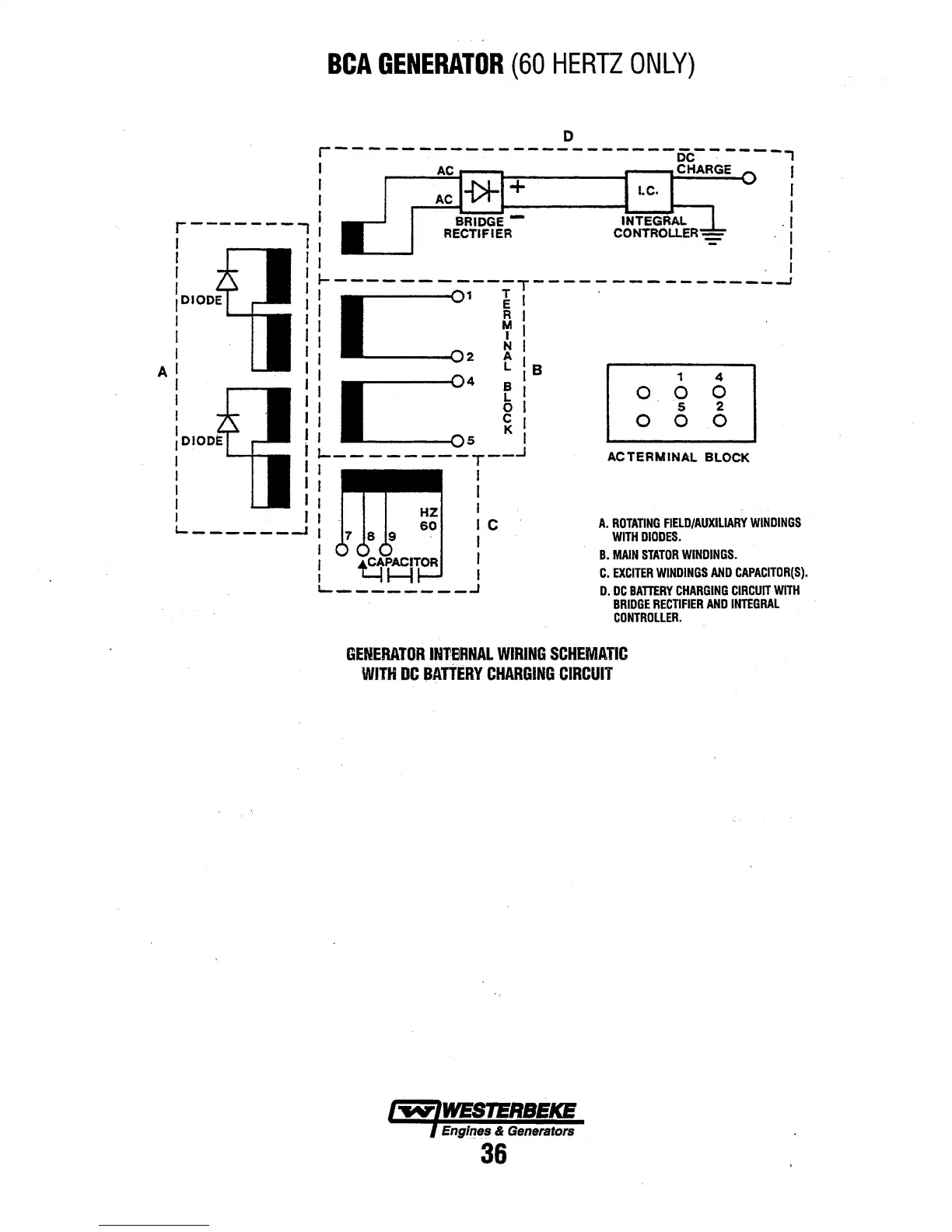
BCA
GENERATOR
(60
HERTZ
ONLY)
D
1 4
0
0 0
s 2
0 0 0
ACTERMINAL
BLOCK
A.
ROTATING
FIELD/AUXILIARY
WINDINGS
WITH
DIODES.
B.
MAIN
STATOR
WINDINGS.
C.
EXCITER
WINDINGS
AND
CAPACITDR(S).
D.
DC
BATTERY
CHARGING
CIRCUIT
WITH
BRIDGE
RECTIFIER
AND
INTEGRAL
CONTROLLER.
GENERATOR
INTERNALWIRING
SCHEMATIC
WITH
DC
BATTERY
CHARGING
CIRCUIT
lw/WESIERBEICE
f
Englrr_es
& Generators
36

Related product manuals