EasyManua.ls Logo

Wing Inflatables P4.7 - General Parts Diagram - All Crrcs

Default Icon
46 pages
Print Icon
To Next Page IconTo Next Page
To Next Page IconTo Next Page
To Previous Page IconTo Previous Page
To Previous Page IconTo Previous Page
Loading...
8| P a g e
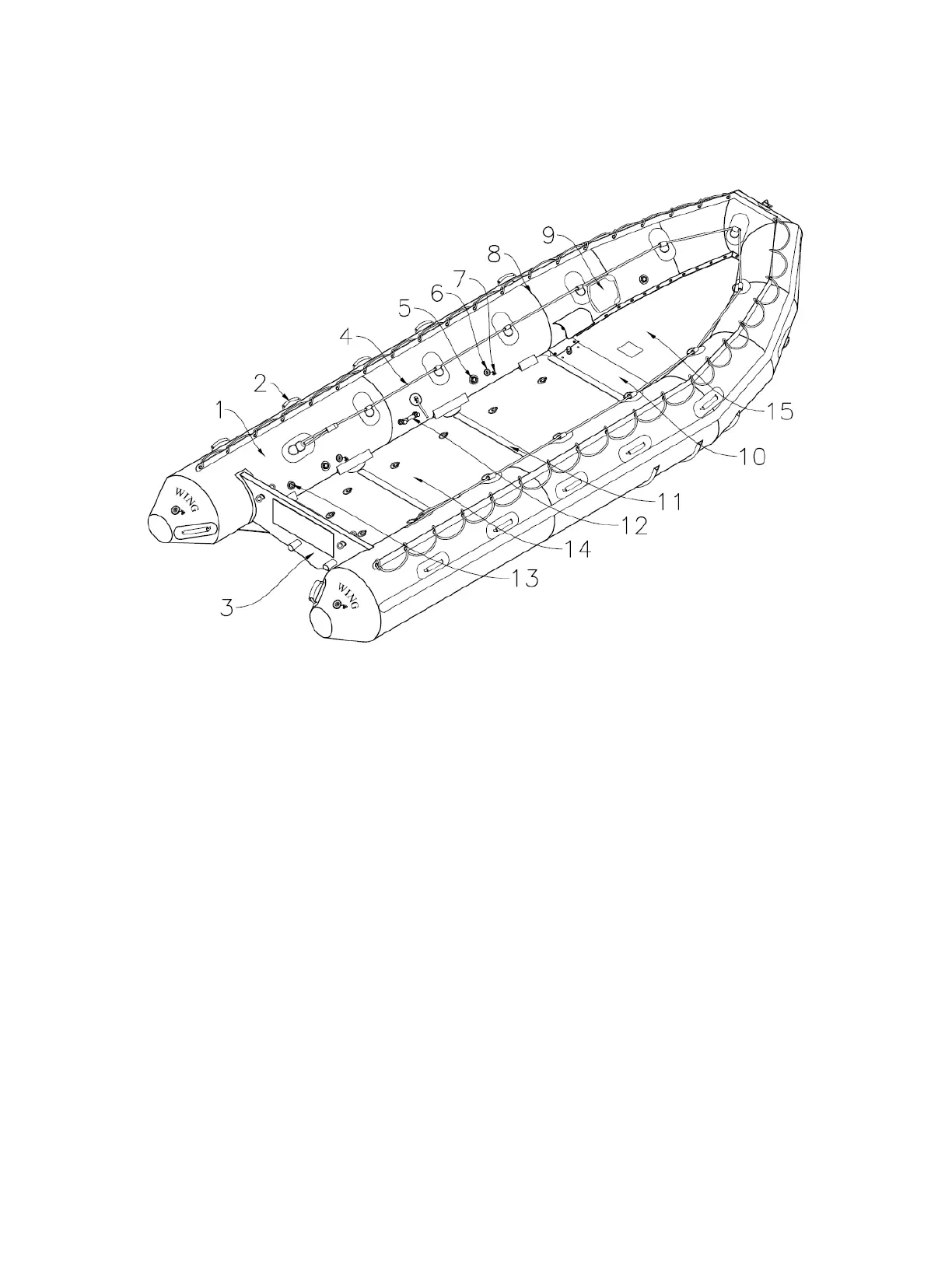
General CRRC Parts Diagram
1. Main Buoyancy Tube (MBT) Primary inflatable structure of CRRC
2. Lifting Handle Heavy duty handle placed on the outside of the MBT to enable the craft to be carried
3. Transom Composite Structural beam at the stern on which an engine can be mounted
4. Inboard Lifeline Line attached inboard on MBT
5. PRV Pressure release valve
6. Fill Valve Manual inflation valve
7. Fill Valve Cap Protective cover for fill valve/redundant air seal
8. Seam Tape 1” of Polyurethane material laid over welded seams
9. Paddle Holders Secure paddles to MBT (certain models)
10. Main Thrust-board FRP composite board near bow affords longitudinal support and provides attachment and
hoisting platform.
11. Floorboard Joiner Aluminum extrusion mating two floorboards together
12. Air Chamber Crossover Valve For Single Point Inflation Bypasses MBT baffle
13. Auto-Inflation Port Valve where hose from inflation cylinder plugs into tube
14. Composite Hard Deck Floorboard Creates hard deck surface (Number of floorboards depends on CRRC)
15. Bow Skirt Protective laced in cover

Related product manuals