EasyManua.ls Logo

Yamaha E25B - Page 45

Yamaha E25B
74 pages
Print Icon
To Next Page IconTo Next Page
To Next Page IconTo Next Page
To Previous Page IconTo Previous Page
To Previous Page IconTo Previous Page
Loading...
Operation
39
swimmers or obstacles in the water near
you.
NOTICE
ECM01610
Warm up the engine before shifting into
gear. Until the engine is warm, the idle
speed may be higher than normal. High
idle speed can prevent you from shifting
back to neutral. If this occurs, stop the
engine, shift to neutral, then restart the
engine and allow it to warm up.
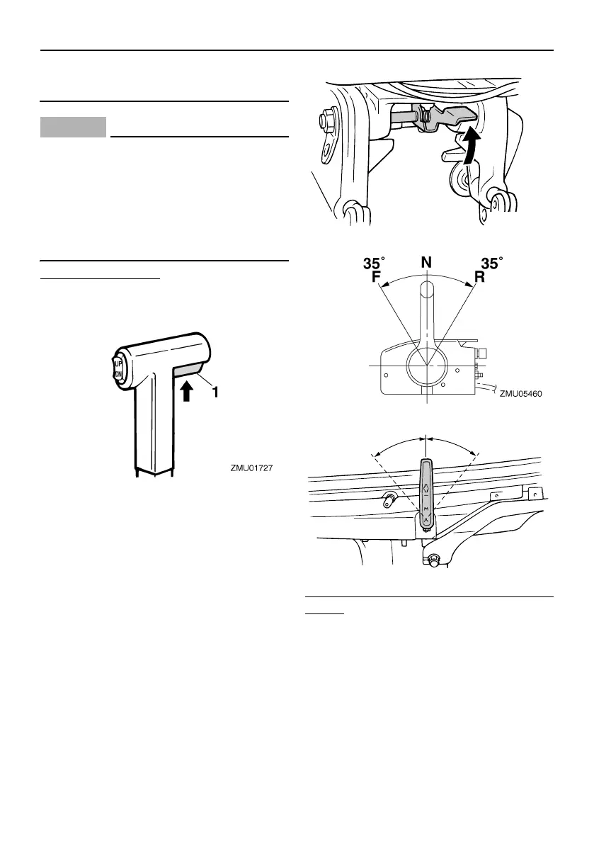
To shift out of neutral
1. Pull the neutral interlock trigger up (if
equipped).
2. Move the remote control lever / gear
shift lever firmly and crisply forward (for
forward gear) or backward (for reverse
gear) [about 35 (a detent can felt) for re-
mote control models]. Be sure to check
that the tilt lock lever is in the lock/down
position (if equipped) before operating in
reverse.
To shift from in gear (forward/reverse) to
neutral
1. Close the throttle so that the engine
slows to idle speed.
1. Neutral interlock trigger
ZMU02971
ZMU05718
N
R
F
69R-9-2A-1E0.book 39 ージ 010年2月3日 水曜日 午後5時18分

Table of Contents

Related product manuals