EasyManua.ls Logo

Yamaha MD4 - Input Channels Details

Yamaha MD4
88 pages
Print Icon
To Next Page IconTo Next Page
To Next Page IconTo Next Page
To Previous Page IconTo Previous Page
To Previous Page IconTo Previous Page
Loading...
4
Touring MD4
MD4—Owner’s Manual
Input Channels
1
GAIN control
This rotary control adjusts the sensitivity of the MIC/LINE input so that both micro-
phone and line-level signals can be handled with ease.
2
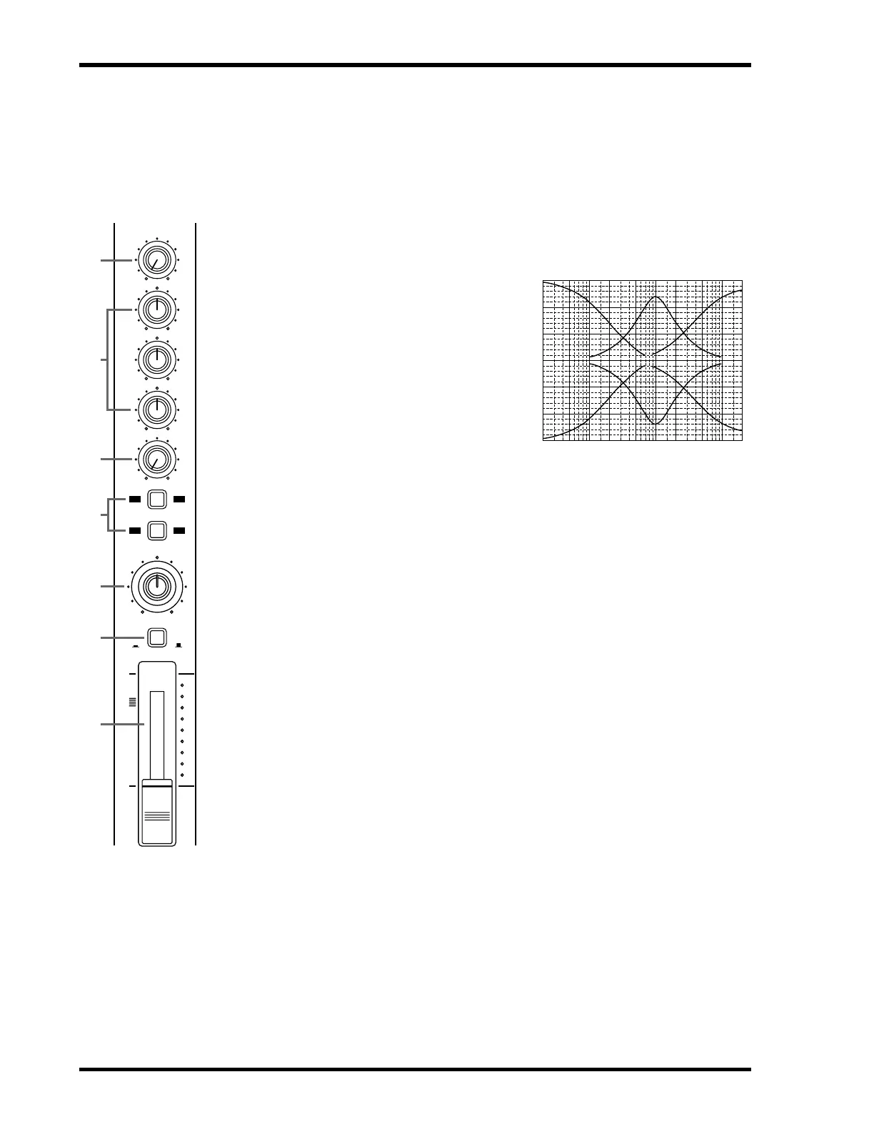
EQ controls
These rotary controls are used to boost and cut the high, middle, and low frequency
bands independently. A flat setting (i.e., no boost or cut) can be set quickly using the
control’s center detent.
3
AUX control
This rotary control is used to send the input channel signal to the AUX SEND output
for processing by an external effects processor.
4
GROUP ASSIGN switches
These switches are used to assign (i.e., send) the input channel signal to the recorder’s
tracks. They work in conjunction with the PAN control. For example, with GROUP
ASSIGN switch [1–2] ON and the PAN control set midway, the channel signal is sent
equally to Tracks 1 and 2. With the PAN control turned fully counterclockwise (L/ODD),
however, the channel signal is sent only to Track 1. Likewise, when it is set fully clockwise,
the signal is sent only to track 2. The same principle applies to GROUP ASSIGN switch
[3–4].
5
PAN control
This rotary control has two functions: For recording it’s used in conjunction with the
GROUP ASSIGN switches to assign the input channel signal to even and odd numbered
tracks. For mixdown it’s used to pan (i.e., position) the signal in the stereo mix.
6
Input source selector switch
This switch is used to select the signal source for the input channel: MIC/LINE input or
PB (disc playback signal).
7
Fader
This fader has two functions: For recording its used to adjust the level of the input chan-
nel signal that’s recorded to a track. For mixdown it’s used to balance the input channel
signal relative to the other input channel signals. For optimum performance, faders
should be positioned about the 7–8 mark.
GAIN
LINE MIC
1 2
3 4
AUX
010
HIGH
12 +12
MID
12 +12
LOW
12 +12
PAN
L
ODD
R
EVEN
PB MIC/
LINE
10
9
8
7
6
5
4
3
2
1
0
1
GROUP ASSIGN
1
2
3
4
5
6
7
10k 20k1k10020
–15
–10
–5
0
5
10
15
Frequency (Hz)
Response (dB)
50
5k2k500200
HIGH ±12 dB at 12 kHz—shelving type
MID ±12 dB at 1 kHz—peaking type
LOW ±12 dB at 80 Hz—shelving type

Table of Contents

Other manuals for Yamaha MD4

Related product manuals