EasyManua.ls Logo

Zte ZXR10 ZSR V2 - Chapter 10 IPv6 Multicast

Zte ZXR10 ZSR V2
192 pages
To Next Page IconTo Next Page
To Next Page IconTo Next Page
To Previous Page IconTo Previous Page
To Previous Page IconTo Previous Page
Loading...
Chapter15NetworkLayerDetection
2.The"trace"programsendsanIPdatapacketwhoseTTLeldintheIPheaderis
2.Inthisway,theaddressofthesecondrouterisobtained.
3.The"trace"programcontinueswiththisprocedureuntilapacketarrivesatthe
destinationhost.
IPTraceidentiestheendof"trace"throughthefollowingprocedure:
1.The"trace"programsendsalarge-portUDPdatapackettothedestinationhost,
sothatanyapplicationonthedestinationhostisimpossibletousethatport.
2.Whenthedatapacketarrivesatthehost,theUDPmodulegeneratesanICMP
packetindicatingthattheportisunreachable.
3.Inthisway,byidentifyingwhetherthereceivedICMPpacketisatimeoutpacket
oranunreachableportpacket,thesendingsideknowswhen"trace"ends.
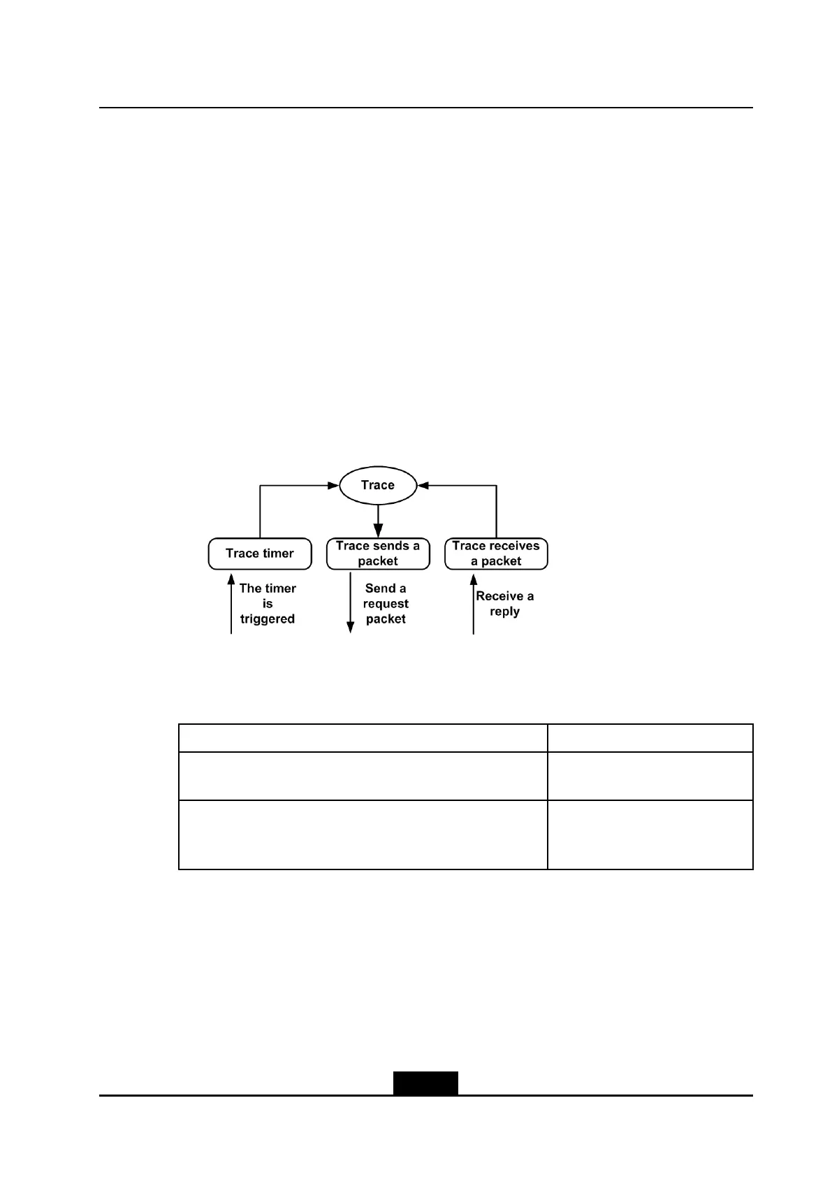
Theinterfacesbetweenthe"trace"moduleandsub-modulesareshowninFigure
15-8.
Figure15-8InterfacesBetweenthe"Trace"ModuleandSub-Modules
CongurationCommands
TocongureIPtraceonZXR10ZSRV2,runthefollowingcommands:
CommandFunction
ZXR10>trace[vrf<vrf-name>]<ip-address>TracesanIPaddressinuser
mode.
ZXR10#trace[{dcn|vrf<vrf-name>}]{<ip-address>|domain
<domain-name>}[source<source-address>][maxttl<ttl>][timeout
<timeout>]
TracesanIPaddressinprivileged
mode.
ThetracecommandusesICMPerrorpackets.AnICMPerrorpacketisgeneratedwhen
adatapacketexceedsitsTTLvalue.BysendingadatapacketwhoseTTLvalueis1,the
tracecommandtriggerstherstroutertodropthepacketandreturnanerrorpacket.A
TTLtimeoutpacketmeansthatanintermediaterouterreceivesthepacketandtherouter
givesupdetection.AnICMPerrorpacketindicatingthedestinationisunreachablemeans
thatthedestinationnodereceivesthepacketbutitcannotsubmitthepacket.Ifthetimer
stopsbeforeareplyarrives,the"trace"programdisplaysa"*"mark.
15-13
SJ-20140504150128-007|2014-05-10(R1.0)ZTEProprietaryandCondential

Table of Contents

Other manuals for Zte ZXR10 ZSR V2

Related product manuals