EasyManua.ls Logo

ABB ACS850 - Control interfaces

ABB ACS850
260 pages
Print Icon
To Next Page IconTo Next Page
To Next Page IconTo Next Page
To Previous Page IconTo Previous Page
To Previous Page IconTo Previous Page
Loading...
Application macros 59
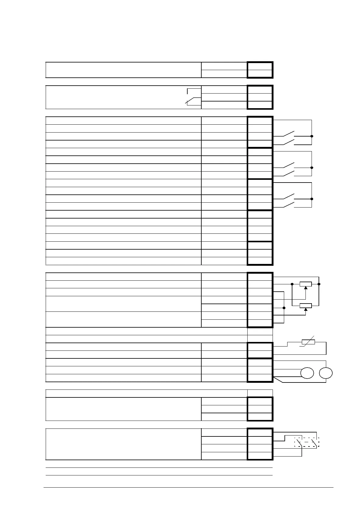
îš„ Default control connections for the Torque control macro
X1
External power input
24 V DC, 1.6 A
+24VI 1
GND 2
X2
Relay output: Ready
NO 1
COM 2
NC 3
X3
+24 V DC +24VD 1
Digital I/O ground DGND 2
Digital input 1: Stop/Start DI1 3
Digital input 2: Direction DI2 4
+24 V DC +24VD 5
Digital I/O ground DGND 6
Digital input 3: Speed/Torque control selection DI3 7
Digital input 4: Constant speed 1 DI4 8
+24 V DC +24VD 9
Digital I/O ground DGND 10
Digital input 5: Acc/Dec ramp 1/2 selection DI5 11
Digital input 6: Run enable DI6 12
+24 V DC +24VD 13
Digital I/O ground DGND 14
Digital input/output 1: Output: Ready DIO1 15
Digital input/output 2: Output: Running DIO2 16
+24 V DC +24VD 17
Digital I/O ground DGND 18
Digital input/output 3: Output: Fault(-1) DIO3 19
X4
Reference voltage (+) +VREF 1
Reference voltage (–) -VREF 2
Ground AGND 3
Analog input 1: EXT1 Reference (Speed ref1)
(Current or voltage, selectable by jumper J1)
AI1+ 4
AI1- 5
Analog input 2: EXT2 Reference (Torq ref1)
(Current or voltage, selectable by jumper J2)
AI2+ 6
AI2- 7
AI1 current/voltage selection J1
AI2 current/voltage selection J2
Thermistor input TH 8
Ground AGND 9
Analog output 1: Current % AO1 (I) 10
Analog output 2: Speed % AO2 (U) 11
Ground AGND 12
X5
Drive-to-drive link termination J3
Drive-to-drive link.
B1
A2
BGND 3
X6
Safe Torque Off. Both circuits must be closed for the drive
to start.
OUT1 1
OUT2 2
IN1 3
IN2 4
Control panel connection X7
Memory unit connection X205
T

Table of Contents

Other manuals for ABB ACS850

Related product manuals