EasyManua.ls Logo

ABB ACS850 - Program features; Drive configuration and programming

ABB ACS850
260 pages
Print Icon
To Next Page IconTo Next Page
To Next Page IconTo Next Page
To Previous Page IconTo Previous Page
To Previous Page IconTo Previous Page
Loading...
Application macros 57
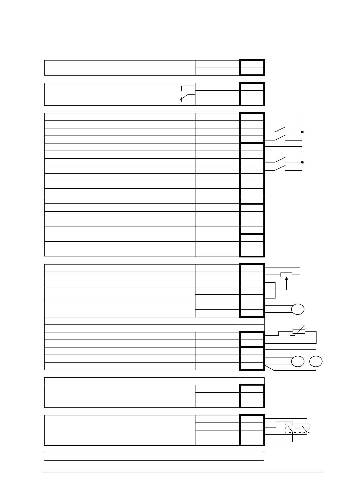
îš„ Default control connections for the PID control macro
X1
External power input
24 V DC, 1.6 A
+24VI 1
GND 2
X2
Relay output
NO 1
COM 2
NC 3
X3
+24 V DC* +24VD 1
Digital I/O ground DGND 2
Digital input 1: Stop/Start DI1 3
Digital input 2 DI2 4
+24 V DC* +24VD 5
Digital I/O ground DGND 6
Digital input 3: Process or Speed control DI3 7
Digital input 4: Constant speed 1 DI4 8
+24 V DC* +24VD 9
Digital I/O ground DGND 10
Digital input 5 DI5 11
Digital input 6 DI6 12
+24 V DC* +24VD 13
Digital I/O ground DGND 14
Digital input/output 1 DIO1 15
Digital input/output 2 DIO2 16
+24 V DC* +24VD 17
Digital I/O ground DGND 18
Digital input/output 3 DIO3 19
X4
Reference voltage (+) +VREF 1
Reference voltage (–) -VREF 2
Ground AGND 3
Analog input 1: Process or Speed reference
(Current or voltage, selectable by jumper J1)
AI1+ 4
AI1- 5
Analog input 2: Process feedback
(Current or voltage, selectable by jumper J2)
AI2+ 6
AI2- 7
AI1 current/voltage selection J1
AI2 current/voltage selection J2
Thermistor input TH 8
Ground AGND 9
Analog output 1 AO1 (I) 10
Analog output 2 AO2 (U) 11
Ground AGND 12
X5
Drive-to-drive link termination J3
Drive-to-drive link.
B1
A2
BGND 3
X6
Safe Torque Off. Both circuits must be closed for the drive
to start.
OUT1 1
OUT2 2
IN1 3
IN2 4
Control panel connection X7
Memory unit connection X205
T
PT

Table of Contents

Other manuals for ABB ACS850

Related product manuals