EasyManua.ls Logo

Akai GX-747 dbx - Page 27

Akai GX-747 dbx
78 pages
Print Icon
To Next Page IconTo Next Page
To Next Page IconTo Next Page
To Previous Page IconTo Previous Page
To Previous Page IconTo Previous Page
Loading...
4-2-7 BRAKE CONTROL
SYSTEM
OF
REEL
6
--,
2
I
u
"'
"'
"'
0
0.
::,
N
u
MOTOR (Refer to Figs. 6-42 to 6-46)
+12V
,&.
TR
2
2SC2130IG,HI
12.IV
lG
~s
074
R95
1S2473
IOOK
ov
.,.,
20
a:2
a:
fll
a:
m
a:
OV
I~
" Q
1i!
a:
RI05
IOK
~
TR39,40
2SC94SLI K,Pl
TR38
2SC_94SL I
P,Q
l
Ri24
20W
36
ohms
IC4
MC1409BCPN
Rl26
100
RL4-3
FAST
IC4
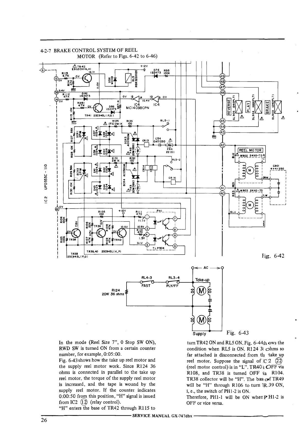
In the mode (Reel
Size
7", 0 Stop
SW
ON),
RWD
SW
is turned
ON
from a certain counter
number, for example, 0:05:00.
Fig. 6-43
shows how the take up
reel
motor and
the supply reel motor work. Since
Rl
24 36
ohms
is
connected
in
parallel to the take up
reel motor, the torque
of
the supply reel motor
is
increased, and the tape
is
wound by the
supply
reel
motor.
If
the counter indicates
0:00:
50
from this position,
"H"
signal
is
issued
from
IC2
@ (relay control).
"H"
enters the
base
of
TR42 through
Rl
15
to
RL5·1
RL3-4
PLY/FF
C901
4+4/2S0
,-----7
I I
~
4~~1
__?~x.Q:...~
cc
YLW
I
I
I
I
I
I
I
I I
L
____
J
Fig. 6-42
-AC
-----
Supply
Fig. 6-43
turn TR42
ON
and RL5
ON.
Fig. 6-44ih ows the
condition when
RL5
is
ON.
R124
31,
ohms
so
far
attached
is
disconnected from
tl~
-take
up
reel motor. Suppose the signal
of
:C
'.2
@
(reel motor control)
is
in
"L".
TR40
is
OFF
via
R108, and TR38
is
turned
OFF
lia R104.
TR38 collector
will
be
"H". The
bas1
~f
TR49
will
be
"H"
through R106 to
turn
1R-39
ON,
i, e., the switch
of
PHl-2
is
ON.
Therefore, PHl-1
will
be
ON
whenplll-2
is
OFF or
vice
versa.
-----------------
SERVICE MANUAL GX-747dbx
-------------------
26

Related product manuals