EasyManua.ls Logo

Alinco DR-620 - Br24 C64 F-E2 (Xa0669)

Alinco DR-620
56 pages
Print Icon
To Next Page IconTo Next Page
To Next Page IconTo Next Page
To Previous Page IconTo Previous Page
To Previous Page IconTo Previous Page
Loading...
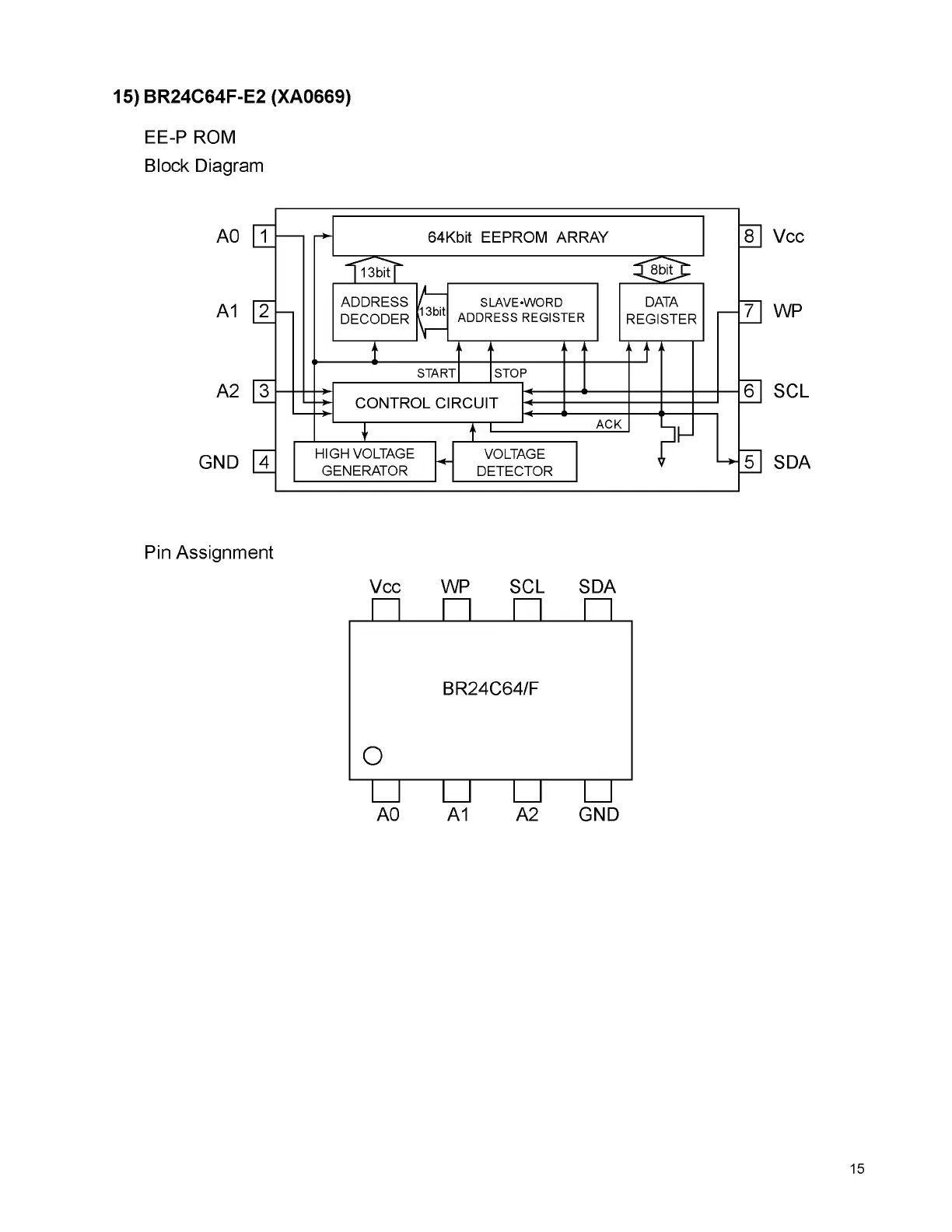
EE-P ROM
Block Diagram
15) BR24C64F-E2 (XA0669)
AO 1
A1 2
A2 3
GND 4
64Kbit EEPR OM ARRAY
pá bit
ADDRESS
DECODER
h
13bit
N
SLAVE^WORD
ADDRESS REGISTER
DATA
REGISTER
START STOP
CO NTROL C IR CUIT
I
ACK
H
4
HIGH VOLTAGE
VOLTAGE
r
5
GENERATOR
DETECTOR
a Vcc
7 WP
e SCL
5 SDA
Pin Assignment
Vcc WP SCL SDA
O
BR24Ce4/F
AO A1 A2 GND
15

Table of Contents

Related product manuals