EasyManua.ls Logo

AOR AR5000A - SEARCH (continued); Starting Program Search; Cancelling, Re-starting Program Search

AOR AR5000A
81 pages
Print Icon
To Next Page IconTo Next Page
To Next Page IconTo Next Page
To Previous Page IconTo Previous Page
To Previous Page IconTo Previous Page
Loading...
PAGE 52 AR5000 OPERATING MANUAL
LO
HI
MODE FM <<<MODE FM <<<
MODE FM <<<MODE FM <<<
MODE FM <<<
IFBW 0.5 (skipped if AUTOMODE is used)
STEP 1.000 (skipped if AUTOMODE is used)
TXT
In this example select “
FMFM
FMFM
FM” and press
to accept
the input.
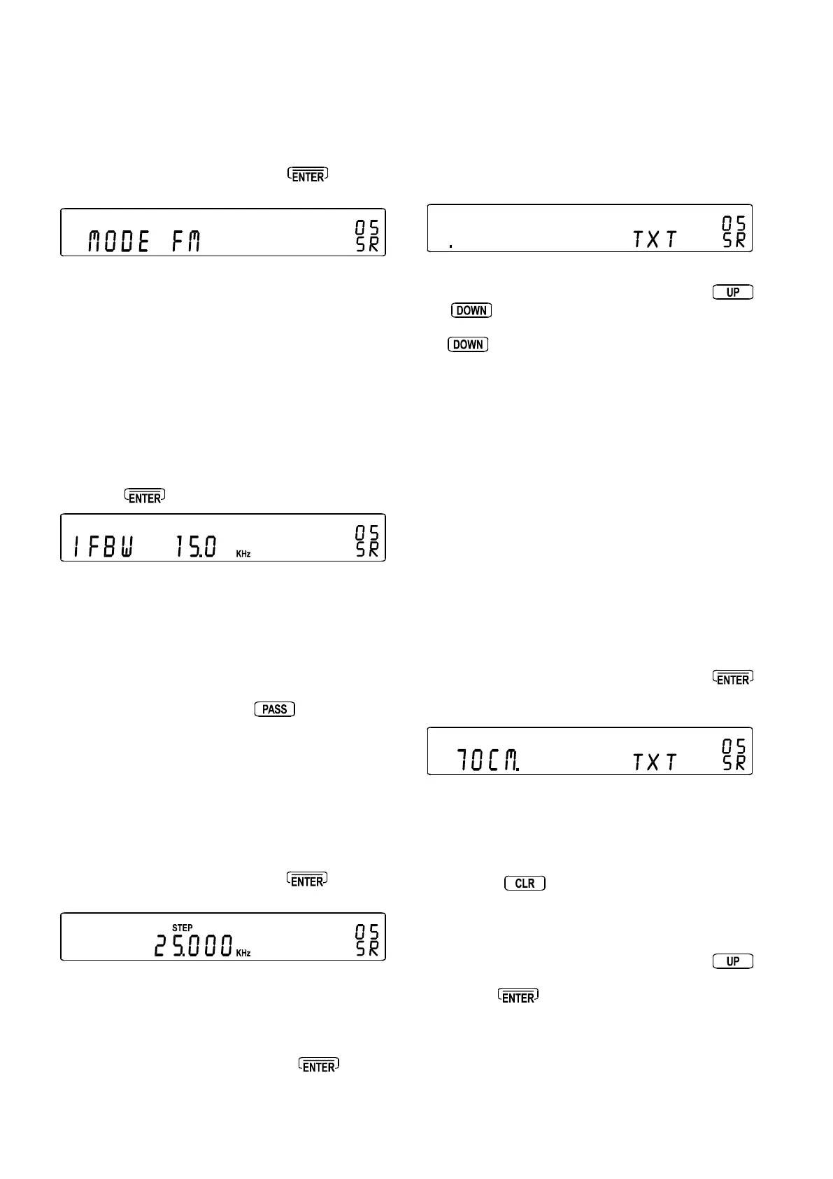
Select I.F. bandwidth: Providing AUTOMODE has not
been selected, the I.F. bandwidth input menu will be
displayed “
IFBWIFBW
IFBWIFBW
IFBW”. The numbers to the right of this legend
followed by the legend “kHz” represent the I.F. bandwidth
selection.
LO
HI
MODE FM
IFBW 15.0 <<<IFBW 15.0 <<<
IFBW 15.0 <<<IFBW 15.0 <<<
IFBW 15.0 <<<
STEP 1.000 (skipped if AUTOMODE is used)
TXT
In this example rotate the SUB DIAL to select “
1515
1515
15 kHz
then press
to accept the input.
Input the tuning step size: Providing AUTOMODE has
not been previously selected, the legend “STEP” will be
displayed flashing toward the centre-top of the LCD inviting
input of tuning step size. Either select the required tuning
step size using the SUB DIAL (from the selection offered) or
key in the required step size in kHz using the numeric
keypad.
If step-adjust is required press
, the legend “*
will then be displayed on the extreme left of the LCD to
confirm selection.
LO
HI
MODE FM
IFBW 15.0
STEP 25.000 <<<STEP 25.000 <<<
STEP 25.000 <<<STEP 25.000 <<<
STEP 25.000 <<<
TXT
In this example select 25 kHz. Press
to accept
the data input.
Alphanumeric text input (not mandatory): The “
TXTTXT
TXTTXT
TXT
legend will be displayed inviting you to select new text for
storage in search bank 05. This can be useful to assist
identification of banks when the AR5000 in used in TEXT
display mode but the input of text is not mandatory. Should
you wish to ignore the entry of text press
now.
LO
HI
MODE FM
IFBW 15.0
STEP 25.000
TXT <<<TXT <<<
TXT <<<TXT <<<
TXT <<<
To aid text entry, a decimal “.” is displayed to the right of
the text entry point (initially close to the left of the LCD).
The SUB DIAL is used to make selection of text in the form
of upper case letters, numbers and symbols. The
and
keys move the text entry point to the right and
left respectively. If a mistake is made during entry, use
the
key to move back to the required position and
simply over-write it.
You will note that each time the entry point is moved and
text selected, the first letter offered is not “
00
00
0” or “
AA
AA
A” but
continues from the character, number or symbol last used.
A few short cuts are provided via the numeric keypad:
1 = Display a blank “ ”, cancel whatever letter
is currently displayed
2 = Start at number “
11
11
1
3 = Start at letter “
AA
AA
A
4 = Start at letter “
MM
MM
M
5 = Start at letter “
ZZ
ZZ
Z
6 = Start at number “
99
99
9
0 = Start at symbol “- -
In this example select the text 70CM then press
to accept input and complete the programming of
program search bank 05.
Notes on program search bank
programming
Aborting input: At any time you may abort input by
pressing the
key, the display will return to VFO
mode.
Deleting data: There is no need to delete program search
bank data before programming. If data is already present,
it may simply be over-written. In this instance the
key must be used to view and move through the options,
pressing the
key will simply cause the current setup
to be saved.
Auto aerial switching: To enable the fastest search rates,
automatic aerial switching is not selected as default,
however you may still manually change the aerial selection
when in program search mode. Simply initiate whatever

Table of Contents

Related product manuals