EasyManua.ls Logo

AOR AR5000A - Option - CTCSS Tone Squelch - CT5000 (continued); CTCSS SQUELCH

AOR AR5000A
81 pages
Print Icon
To Next Page IconTo Next Page
To Next Page IconTo Next Page
To Previous Page IconTo Previous Page
To Previous Page IconTo Previous Page
Loading...
AR5000 OPERATING MANUAL PAGE 67
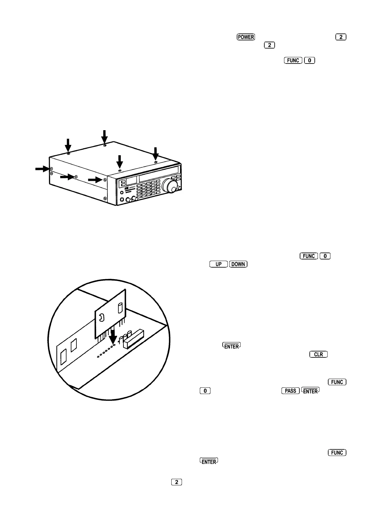
16-1 Installation of the CT5000
Only the upper case of the AR5000 needs to be removed
when installing the optional CT5000 board. Switch the
receiver off and unplug the power cord.
1 In order to lift the upper case, carefully (with the correct
fitting posi-drive screwdriver) remove the 4 screws from
the top cabinet and the 3 screws from each side panel
(the screws on the side of the unit toward the front are
larger than the rest). The rear edge of the top cabinet
has a flange and the sides have two unused holes (for
mobile mounting).
2 Locate connector IC31 on the rear-right hand side of
the printed circuit board (see illustration) and insert the
CT5000 making sure the pins mate correctly. Ensure that
the board is inserted with the crystal resonator and
electrolytic capacitor facing the right hand edge of the
unit and the surface mount components facing IC27.
3 Refit the upper case... you may wish to do this once
you have established that the board is operating correctly!
4 The CT5000 must be REGISTERED in the receiver’s
configuration before it will appear on the OPTION MENU
and be used. Plug in the power cord and ensure that the
supply is connected and active.
Assuming that power is connected to the AR5000 and
the power switch is currently OFF, press and hold
key then power up the receiver by pressing and
releasing the
switch while still holding the
key. Now release the key. The “
CTCSSCTCSS
CTCSSCTCSS
CTCSS” tone
squelch will now be added to the OPTION menu as the
first item accessed by pressing
(unless the
descrambler option is fitted in which case it will be the
second item in the list).
16-2 Operation of the CT5000 - overview
Of course you first need to find a transmission which is
using CTCSS tones! Assuming that you have located
such a transmission... there are two ways in which CTCSS
may be used, SEARCH and SQUELCH.
SEARCH: Hunt for the CTCSS tones being used. The
flashing LCD legend “TONE” indicates that CTCSS
frequency search is in operation.
SQUELCH: Selectively monitor only those transmissions
using specific CTCSS tones. The static legend “TONE
on the top line of the LCD indicates that CTCSS tone
squelch is in operation.
16-3 CTCSS SEARCH
This facility enables you to automatically search and locate
any signals which carry the particular CTCSS frequency
of your interest.
1 To access the CTCSS menu press
. Use
the
keys to access the CTCSS menu, the
LCD legend “
CTCSSCTCSS
CTCSSCTCSS
CTCSS” confirms selection.
DE-SCR OFF (if DS8000 option is fitted)
CTCSS OFF <<<CTCSS OFF <<<
CTCSS OFF <<<CTCSS OFF <<<
CTCSS OFF <<<
DTMF OFF
T-ELMT OFF
2 The SUB DIAL is used to make selection of CTCSS
operation “
OFFOFF
OFFOFF
OFF”, “
ONON
ONON
ON” or “
SRCHSRCH
SRCHSRCH
SRCH”. Rotate the SUB DIAL
to select “
SRCHSRCH
SRCHSRCH
SRCH for CTCSS SEARCH.
3 Press
to accept the displayed input and initiate
CTCSS SEARCH (or to abort entry press
). The
flashing legend “TONE” on the top line of the LCD
confirms selection of CTCSS SEARCH.
4 To toggle the current selection ON/OFF press
(select the CTCSS menu)
It may take up to 15 seconds to locate the CTCSS tone
of a received signal. Short burst of transmission (less than
15 seconds) may not allow sufficient time for the CTCSS
frequency to be identified.
When a CTCSS frequency is located, the receive
frequency is replaced by the word “
CTCSSCTCSS
CTCSSCTCSS
CTCSS” with the
CTCSS frequency displayed to the right. Press
to return to the normal frequency/text display.

Table of Contents

Related product manuals