EasyManua.ls Logo

Arris Touchstone DG2460 - Resetting the Router to Factory Defaults

Arris Touchstone DG2460
38 pages
Print Icon
To Next Page IconTo Next Page
To Next Page IconTo Next Page
To Previous Page IconTo Previous Page
To Previous Page IconTo Previous Page
Loading...
Chapter 6: Using the Data Gateway
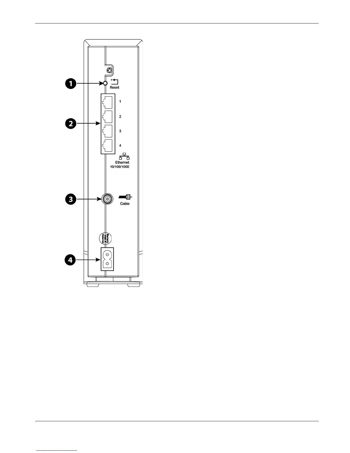
1. Reset button
2. Ethernet (1 - 4)
3. Cable
4. Power
Resetting the Router to Factory Defaults
To reset the router to factory defaults, press and hold the Reset button (1) on the back of
the Data Gateway for more than fifteen seconds. This restores the wireless setup
configuration and router configuration parameters to the factory defaults. You may need to
do this if a misconfiguration has locked out all access.
Release 24 STANDARD 1.1 February 2015 Touchstone DG2460 Data Gateway User Guide 32

Table of Contents

Related product manuals