EasyManua.ls Logo

Axel CANDPSX - Page 14

Axel CANDPSX
42 pages
Print Icon
To Next Page IconTo Next Page
To Next Page IconTo Next Page
To Previous Page IconTo Previous Page
To Previous Page IconTo Previous Page
Loading...
CANDPSX user manual rev 2 Page 14 of 42
____________________ _
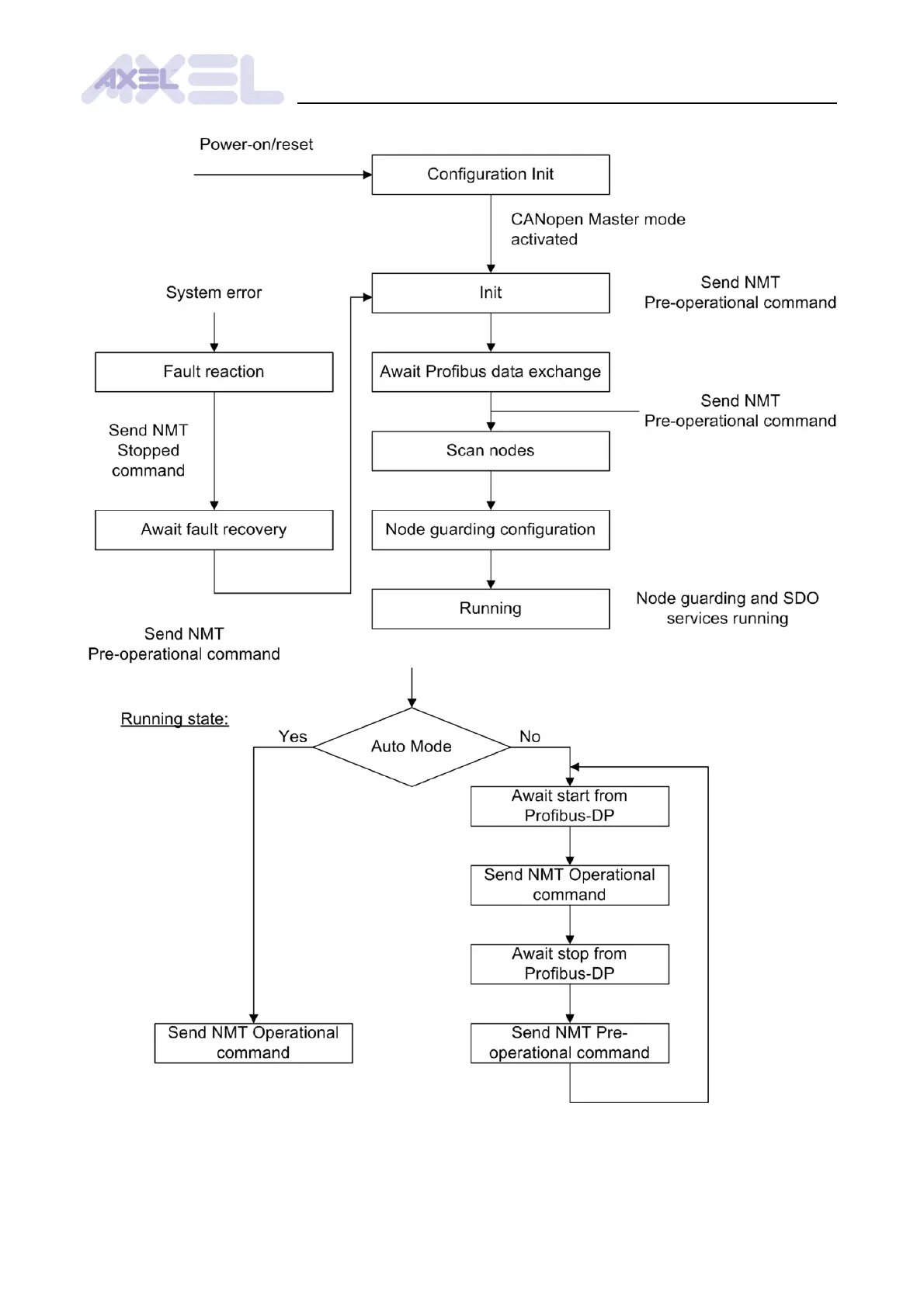
Fig. .1: State diagram of the CANopen master

Table of Contents