EasyManua.ls Logo

Axel CANDPSX - Hardware Data; General Description; BOARD Layout; Voltage Supply

Axel CANDPSX
42 pages
Print Icon
To Next Page IconTo Next Page
To Next Page IconTo Next Page
To Previous Page IconTo Previous Page
To Previous Page IconTo Previous Page
Loading...
CANDPSX user manual rev 2 Page 38 of 42
____________________ _
11 HARDWARE DATA
11.1 GENERAL DESCRIPTION
The module consists essentially of the following hardware components:
Electric isolation on the Profibus-DP interface
Profibus ASIC VPC 3+ C
Infineon XC166 family microchip with integrated CAN controller
Serial port RS232 for configuration from PC
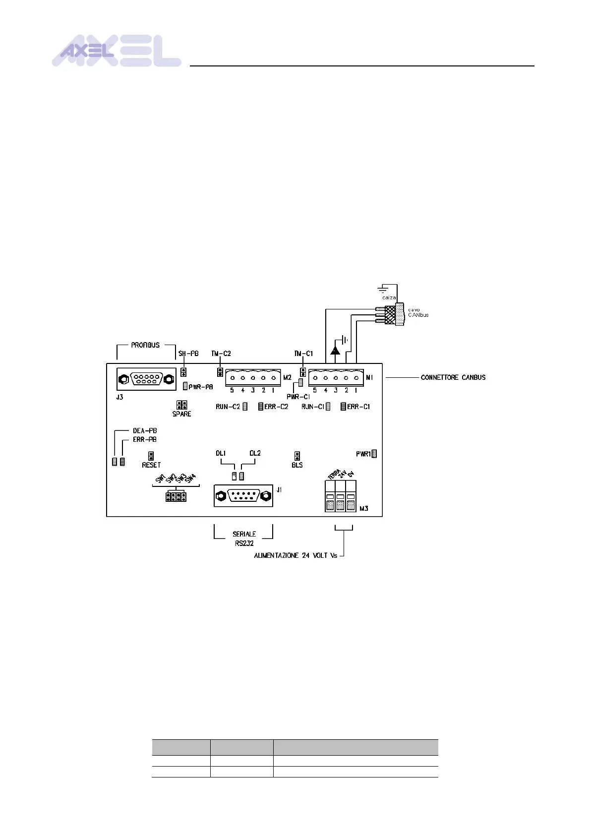
11.2 BOARD LAYOUT
Fig. .6: The layout of the board
11.3 VOLTAGE SUPPLY
The module must be supplied with 18 - 36 V DC through the supply cable (see § 38).
11.4 CONNECTORS
11.4.1 Supply connector M3
Spring terminal (see § 38) for 0,2 - 2,5 mm² rigid cable or 0,2 a 1,5 mm² flexible cable.
Pin No.
Name
Description
1
EARTH
Earth
2
24V
18, 36 V DC supply

Table of Contents