EasyManua.ls Logo

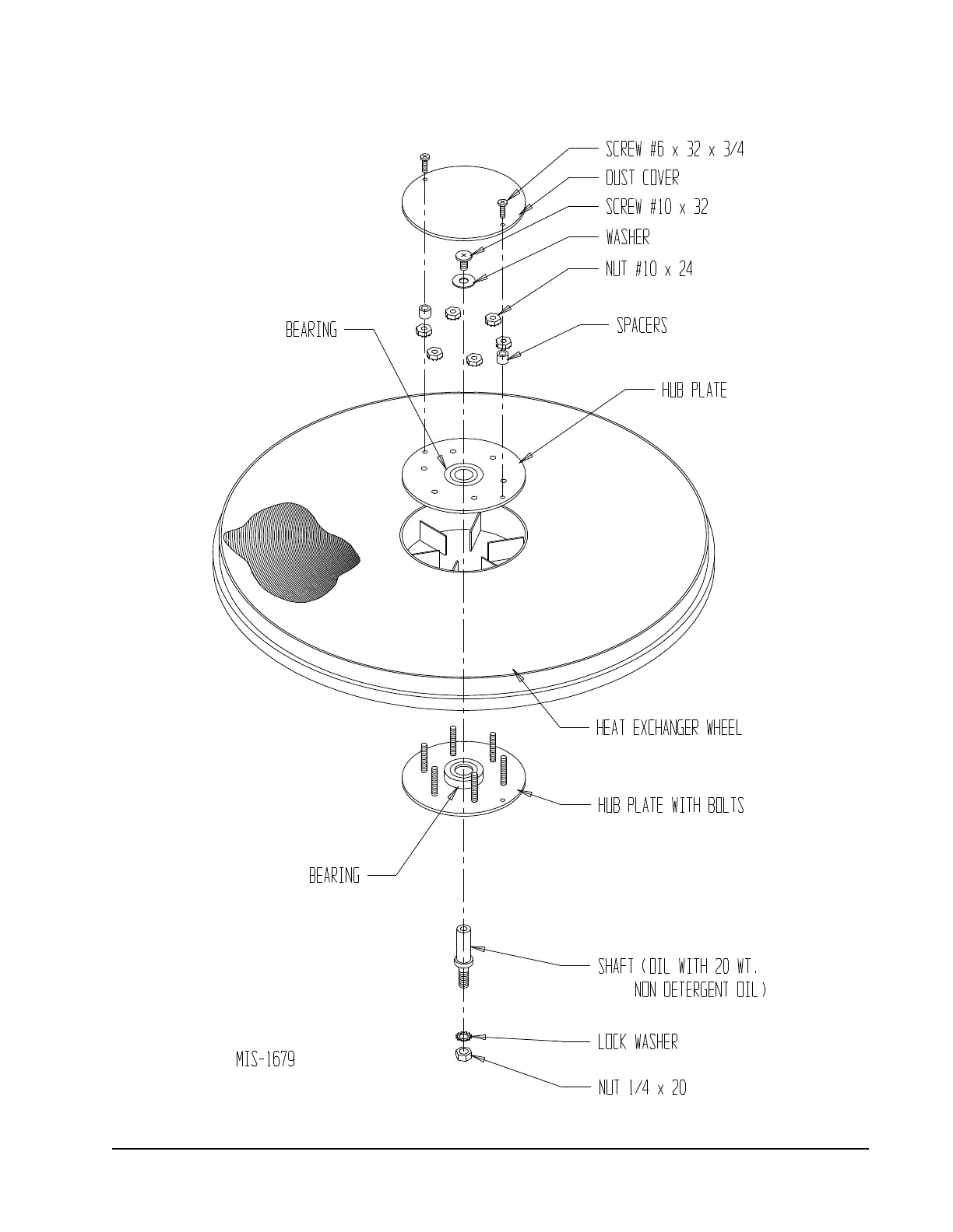
Bard I30A1DA - Figure 32 Hub Assembly W;Ball Bearings; Manual 2100-597 G

Bard I30A1DA
68 pages
Print Icon
To Next Page IconTo Next Page
To Next Page IconTo Next Page
To Previous Page IconTo Previous Page
To Previous Page IconTo Previous Page
Loading...
Manual 2100-597G
Page 59 of 68
FIGURE 32
Hub Assembly with Ball Bearings

Table of Contents

Related product manuals