EasyManua.ls Logo

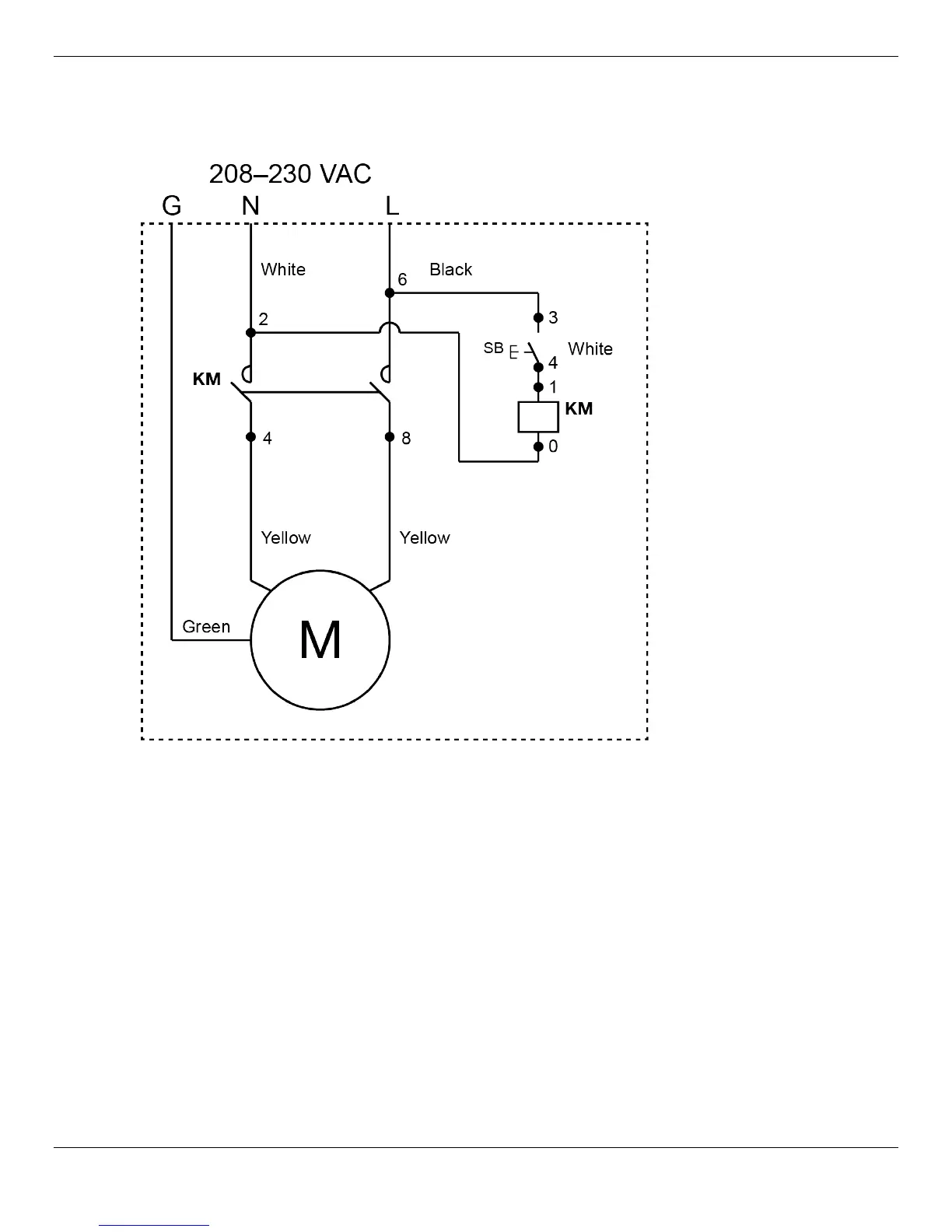
BendPak GP-7 - Wiring Diagram

BendPak GP-7
68 pages
Print Icon
To Next Page IconTo Next Page
To Next Page IconTo Next Page
To Previous Page IconTo Previous Page
To Previous Page IconTo Previous Page
Loading...
GrandPrix (GP-7 Series) Two-Post Lifts 53 P/N 5900209August 2018 — Rev. C2
Wiring Diagram

Other manuals for BendPak GP-7

Related product manuals