EasyManua.ls Logo

BendPak HD-973P - Page 53

BendPak HD-973P
112 pages
Print Icon
To Next Page IconTo Next Page
To Next Page IconTo Next Page
To Previous Page IconTo Previous Page
To Previous Page IconTo Previous Page
Loading...
HD-973P Series Multi-Level Parking Lift 53 P/N 5900076Rev. B3 — January 2024
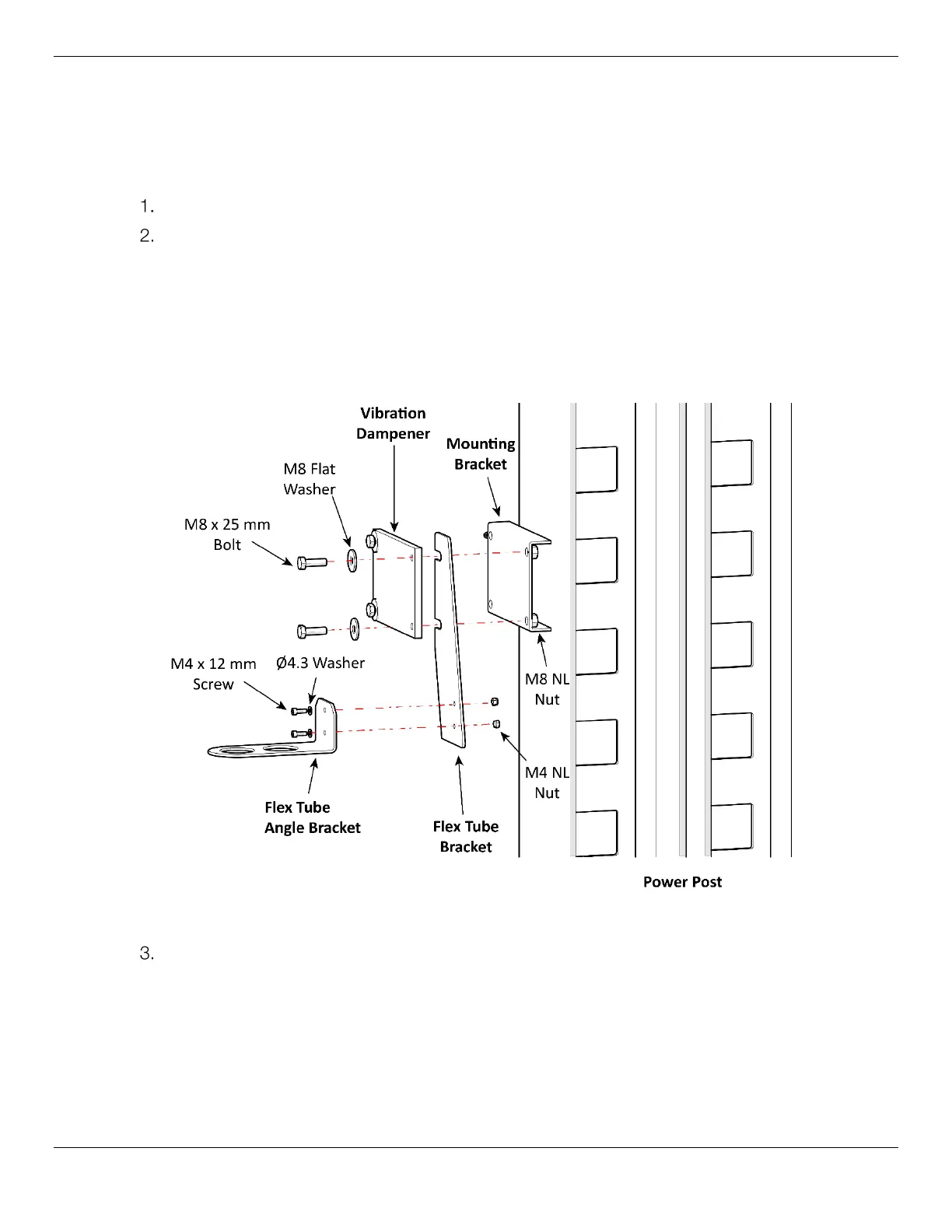
Connecting the Flex Tube Bracket Plate and Angle Plate
To connect the Flex Tubes to the Power Unit, you first need to connect the Flex Tube Bracket Plate
and the Flex Tube Angle Plate. That procedure is described here.
To connect the Flex Tube Bracket and Angle Bracket:
Find the Flex Tube Bracket and the Flex Tube Angle Bracket.
Install the Flex Tube Bracket Plate.
Note: It is common to install the Flex Tube Bracket between the Mounting Bracket and the
Back Plate. This allows the Zero Angle Bracket (which holds the Pushbutton Air Valve
and is described in the next section) to be installed between the Back Plate and the
retaining Nut. This configuration is common, but not required.
The following drawing describes how to position the Flex Tube Bracket between the Mounting
Bracket and Back Plate.
Side view. Power Unit not shown.
Connect the Flex Tube Angle Plate to the Flex Tube Bracket so that the holes for the Flex Tubes
are best positioned for connecting the Return Line, the Air Line, and the Hydraulic Hose.

Related product manuals