EasyManua.ls Logo

Beyerdynamic SIS - Mikrofon Abschalten; Hilfe bei Technischen Problemen; Gehörschutz

Beyerdynamic SIS
Print Icon
To Next Page IconTo Next Page
To Next Page IconTo Next Page
To Previous Page IconTo Previous Page
To Previous Page IconTo Previous Page
Loading...
Dolmetscherpult SIS 1202
11
deutsch
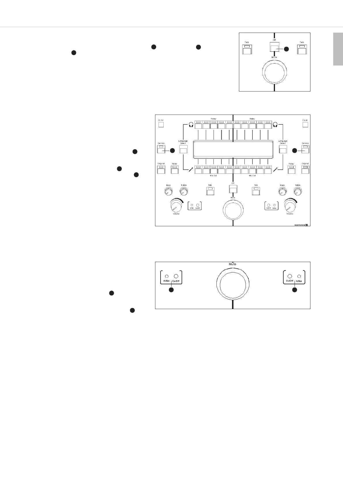
Mikrofon abschalten
Zum Abschalten des Mikrofons drücken Sie die Off-Taste . Die „On Air“-LED und die LED
der „Talk“-Taste gehen aus.
Hilfe bei technischen Problemen
Treten technische Probleme auf, kann der Dolmetscher
dem Techniker an der SIS Steuerzentrale ein Signal über-
mitteln.
Drückt der Dolmetscher auf die Taste „Service“ ,
erhält der Techniker an der SIS Steuerzentrale eine
Meldung.
Die zugehörige LED der Taste „Service“ leuchtet rot.
Durch nochmaliges Drücken der Taste „Service“
wird der Ruf gelöscht, die LED der Taste „Service“
erlischt und die Meldung an der SIS Steuerzentrale ver-
schwindet.
Wenn der Techniker den Ruf über die SIS Steuerzentrale
empfangen und bestätigt hat, leuchtet die LED der
Taste „Service“ grün und geht nach ca. 10 Sekunden
aus.
Gehörschutz
Das Dolmetscherpult ist mit einer Gehörschutz funktion
ausgestattet.
Standardmäßig ist der Gehörschutz nach dem
Einschalten der SIS-Anlage aktiv.
Die „Active“-LED leuchtet grün.
Zum Aus- und Einschalten des Gehörschutzes
drücken Sie z.B. mit einem Kugelschreiber in die
Vertiefung neben der „Active“-LED.
Im Display des Dolmetscherpultes wird angezeigt, wieviel Prozent des Grenzwertes der Lautstärke bereits erreicht wurden.
ACHTUNG:
Wird der Gehörschutz ausgeschaltet, kann es zu großen Lautstärkesprüngen kommen, die im schlimmsten Fall zu
Gehörschäden führen können.
Siehe auch Funktionsbeschreibung der Gehörschutz-Technologie im Anhang.
4
1
2
4
10
10
10
10
14
14
14
10
14
EarPatron EarPatron
EarPatron EarPatron

Table of Contents

Related product manuals