EasyManua.ls Logo

Beyerdynamic SIS - Bedienung des Dolmetscherpultes; Lautstärke, Klangregelung; Einstellen der Zielsprache; Einstellen der Relaissprache

Beyerdynamic SIS
Print Icon
To Next Page IconTo Next Page
To Next Page IconTo Next Page
To Previous Page IconTo Previous Page
To Previous Page IconTo Previous Page
Loading...
Dolmetscherpult SIS 1202
9
deutsch
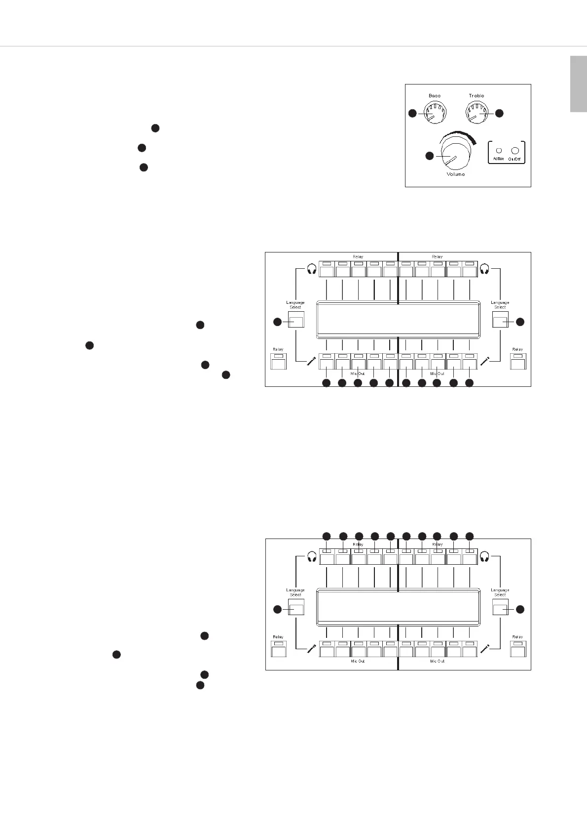
3.2.2 Bedienung des Dolmetscherpultes
Lautstärke, Klangregelung
Die Lautstärke, Höhen und Tiefen des an das Dolmetscherpult angeschlossenen Kopfhörers /
Headsets können wie folgt eingestellt werden:
Mit dem Lautstärkeregler können Sie die Lautstärke des angeschlossenen Kopfhörers /
Headsets verändern.
Mit dem Tiefenregler können Sie die Bässe / Tiefen des angeschlossenen Kopfhörers /
Headsets verändern.
Mit dem Höhenregler können Sie die Höhen des angeschlossenen Kopfhörers / Headsets
verändern.
Einstellen der Zielsprache
Zum Dolmetschen in die Zielsprache muss diese am
Dolmetscherpult eingestellt werden. Zuvor müssen alle
Sprachen, die in der Konferenz gesprochen werden, an
der Steuerzentrale eingestellt werden. Siehe hierzu auch
Kapitel 5. Konfiguration - Eingabe der Sprachen.
Halten Sie die Taste „Language Select“ gedrückt und
stellen Sie durch mehrmaliges Drücken der Taste „Mic
Out“ die gewünschte Zielsprache ein.
Sollen weitere Zielsprachen eingestellt werden, halten
Sie wieder die Taste „Language Select“ gedrückt
und stellen mit der nächsten Taste „Mic Out“ in der
Reihe die gewünschte Zielsprache ein.
Wiederholen Sie diese Schritte so oft, bis alle
Zielsprachen eingestellt sind.
Die LED der „Mic Out“ Taste für die ausgewählte Zielsprache leuchtet grün.
Einstellen der Relaissprache
Wird nicht aus der Originalsprache, sondern einer
Zwischenübersetzung (= Relaissprache) eines anderen
Dolmetschers gedolmetscht, muss diese Relaissprache ein-
gestellt werden. Zuvor müssen alle Sprachen, die in der
Konferenz gesprochen werden, an der Steuerzentrale ein-
gestellt werden. Siehe hierzu auch Kapitel 5. Konfiguration -
Eingabe der Sprachen.
Halten Sie die Taste „Language Select“ gedrückt
und und stellen Sie durch mehrmaliges Drücken der
Taste „Relay“ die gewünschte Relaissprache ein.
Sollen weitere Relaissprachen eingestellt werden, halten
Sie wieder die Taste „Language Select“ gedrückt und
stellen mit der nächsten Taste „Relay“ in der Reihe die gewünschte Relaissprache ein.
Wiederholen Sie diese Schritte so oft, bis alle gewünschten Relaissprachen eingestellt sind.
Die LED der „Relay“ Taste für die ausgewählte Relaissprache leuchtet grün.
WICHTIG:
Ein belegter Kanal wird im Display mit Großbuchstaben dargestellt; d.h. die jeweilige Sprache wird gerade gesprochen.
Ein freier Kanal wird im Display mit Kleinbuchstaben dargestellt; d.h. die jeweilige Sprache wird im Moment nicht gesprochen.
Nicht besprochene Kanäle werden von der SIS Steuerzentrale automatisch mit dem Signal der Originalsprache (Floor) belegt.
11
12
13
11
12
5
5
7
7
5
7
5
5
6
6
13
5
7 7 7 7 7 7 777
5 5
6 6 6 6 6 6 6 666
EarPatron

Table of Contents

Related product manuals