EasyManua.ls Logo

Bosch AWE - Page 13

Bosch AWE
44 pages
Print Icon
To Next Page IconTo Next Page
To Next Page IconTo Next Page
To Previous Page IconTo Previous Page
To Previous Page IconTo Previous Page
Loading...
Installation
13
AWE – 6721835317 (2021/09)
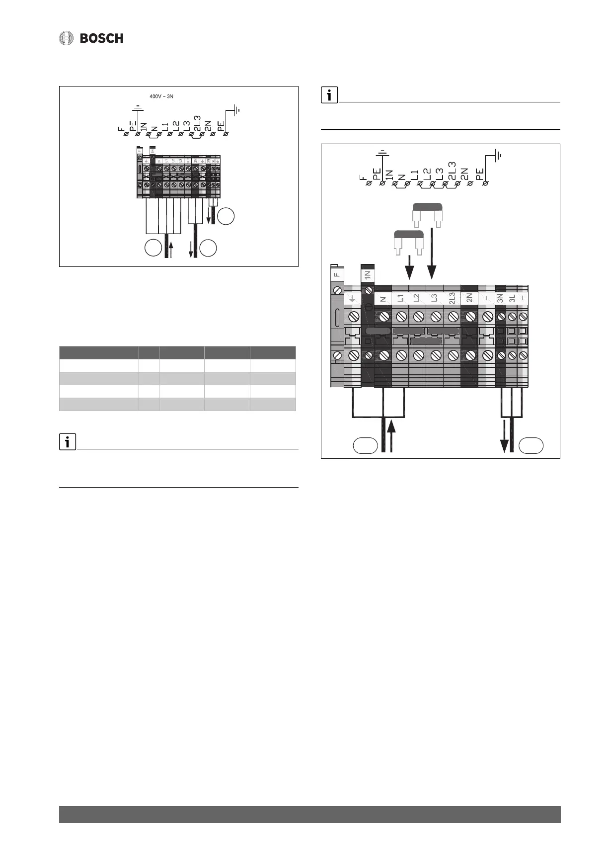
Standard: Electrical connection for integrated auxiliary heater
(factory configuration)
Fig. 11 Electrical standard connection for the integrated electric
booster heater
[1] 400 V (three-phase current) mains voltage for indoor unit
[2] 230 V (alternating current) mains voltage for heat pump
(alternating current)
[3] 230 V ~1 N mains voltage for accessories
Table 7 Power steps of the electric booster heater
K3 is blocked during compressor mode. When only the electric booster
heater is running and the compressor is switched off, the following
power steps apply: 3/6/9 kW.
Alternative version, alternating current, see arrangement of
jumpers
The heat pump has a separate power supply and is connected via the
building connection.
Fig. 12 Alternative version
[1] 230 V 1 N~, mains voltage
[2] 230 V 1 N~, EMS accessory
Capacity K1 K2 K3
2000 W X
4000 W X
6000 W X X
9000 W X X X
3
2
1
1 2
0010025729-001

Table of Contents

Related product manuals