EasyManua.ls Logo

Buehler IsoMet 5000 - Page 45

Buehler IsoMet 5000
76 pages
Print Icon
To Next Page IconTo Next Page
To Next Page IconTo Next Page
To Previous Page IconTo Previous Page
To Previous Page IconTo Previous Page
Loading...
IsoMet
®
5000 Drawings
Note: Drawings and Parts List are subject to change without notice.
39
MA112780_38.6 [Original Instructions] 9/19/2011
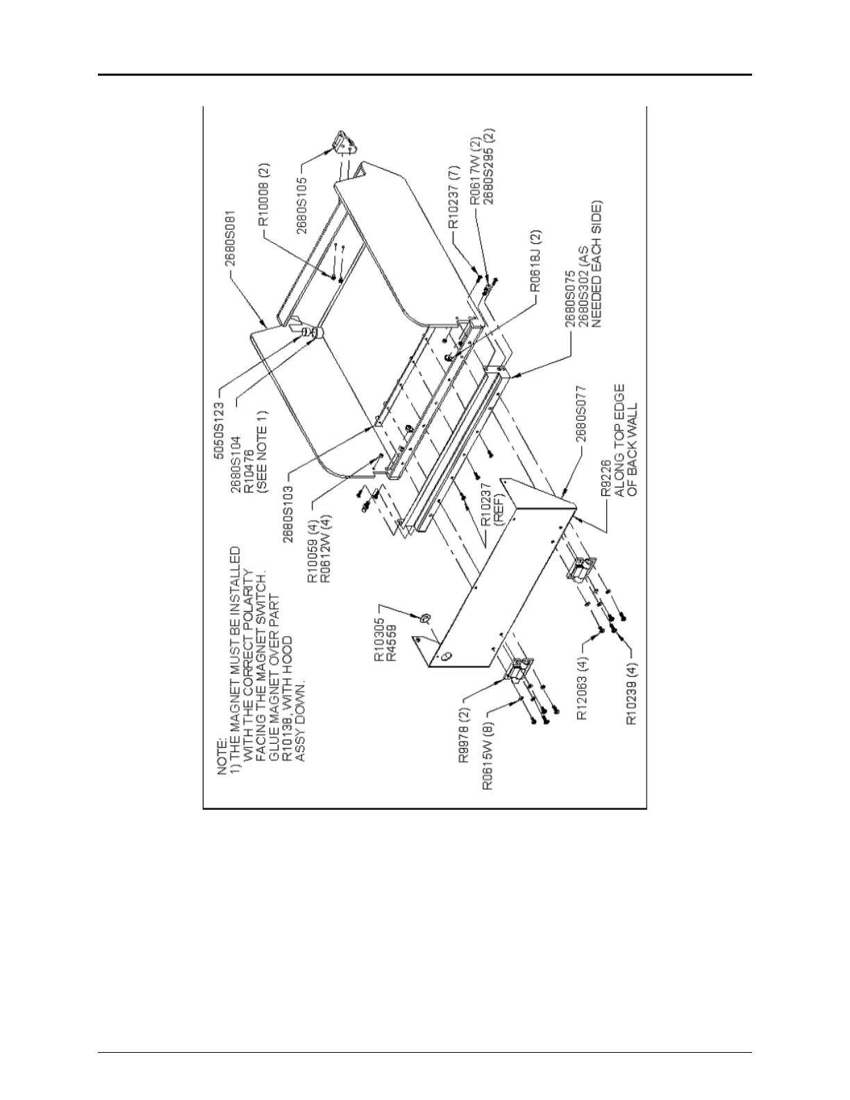
Figure 15 Hood Sub-Assembly Diagram (2680S802)

Table of Contents

Related product manuals