EasyManua.ls Logo

Carel Macroplus - Interfacce con Sonde NTC; Selezione del Tipo DI Ingresso Analogico da Utilizzare

Carel Macroplus
Print Icon
To Next Page IconTo Next Page
To Next Page IconTo Next Page
To Previous Page IconTo Previous Page
To Previous Page IconTo Previous Page
Loading...
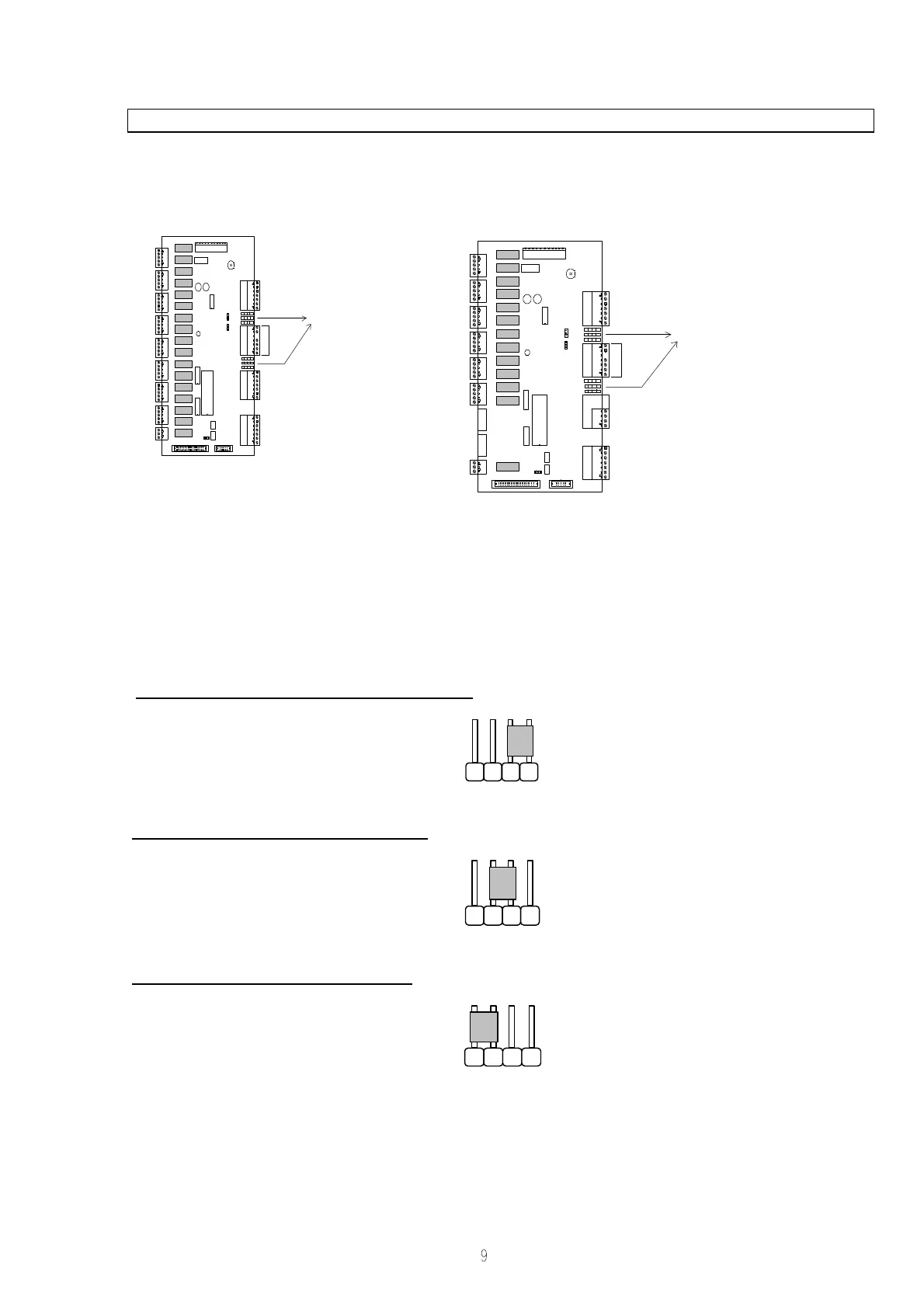
In queste interfacce il PIN-STRIP di configurazione è a quattro terminali e permette tre selezioni. Vi e' la
possibilita' di connettere ad ogni ingresso sonde di tipo NTC.
Scheda "LARGE" Scheda "SMALL"
ò
1 / 2
3 / 4
5 / 6
7 / 8
9 / 10
11 / 12
C / C
J100
J101
J102
J103
13 / 14
15 / 16
17 / 18
C / C
19 / 20
21 / 22
23 / 24
DW / UP
DW / UP
+ / +
M / M
M / M
- / -
B3 / B4
B1 / B2
+ / -
G0 / G0
Y1 / Y2
G0 / G0
Y3 / Y4
G0 / G0
T1 / T0
J104
J106
1C
1O
2C
2O
3C
3O
4C
4O
5C
5O
6C
6O
7C
7O
8C
8O
9C
9O
10C
10O
11C
11O
12C
12O
13C
13O
14C
14O
15C
15O
16C
16O
Ac
Ano
Anc
J107
J108
J109
J110
J111
J112
J113
J114
J6
J7
J5
1 0
SEL
J22
J21
4-20mA
4-20mA
B5 / B6
ANALOG
INPUT
TP6
TP5
TP4
TP3
TP2
TP1
PIN STRIP DI SELEZIONE
- SELEZIONE DEL TIPO DI INGRESSO ANALOGICO:
<TPx> : numero dell'ingresso analogico ( x = B1,B2,B3,B4,B5,B6)
Selezione dell' ingresso analogico tipo 4÷20 mA
4 3 2 1
TPx
Selezione dell' ingresso analogico tipo -1÷1 V
4 3 2 1
TPx
Selezione dell'ingresso analogico tipo NTC
4 3 2 1
TPx
- INTERFACCE CON CONNESSIONE DI SONDE NTC-(SOLO MORSETTI ESTRAIBILI)
-cod. INTMNTCD10 espandibile
-cod. INTMNTCD11 non espandibile
ò
1 / 2
3 / 4
5 / 6
7 / 8
9 / 10
11 / 12
C / C
J100
J101
J102
J103
13 / 14
15 / 16
17 / 18
C / C
19 / 20
21 / 22
23 / 24
DW / UP
DW / UP
+ / +
M / M
M / M
- / -
B3 / B4
B1 / B2
+ / -
G0 / G0
Y1 / Y2
G0 / G0
Y3 / Y4
G0 / G0
T1 / T0
J104
J106
1C
1O
2C
2O
3C
3O
4C
4O
5C
5O
6C
6O
7C
7O
8C
8O
9C
9O
10C
10O
11C
11O
12C
12O
13C
13O
14C
14O
15C
15O
16C
16O
Ac
Ano
Anc
J107
J108
J109
J110
J111
J112
J113
J114
J6
J7
J5
1 0
SEL
J22
J21
4-20mA
4-20mA
B5 / B6
ANALOG
INPUT
TP6
TP5
TP4
TP3
TP2
TP1
PIN STRIP DI SELEZIONE
-cod. INTMNTCB2H con opz. umidita'
-cod. INTMNTCB20 senza opz. umidita'