EasyManua.ls Logo

Carel Macroplus - Interface to NTC Probes; Selection of the Analogue Input

Carel Macroplus
Print Icon
To Next Page IconTo Next Page
To Next Page IconTo Next Page
To Previous Page IconTo Previous Page
To Previous Page IconTo Previous Page
Loading...
9
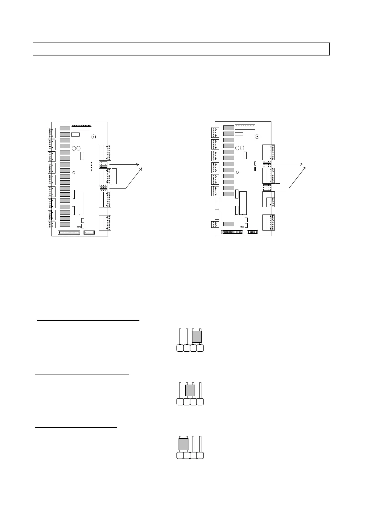
The four-terminal pin-strips are used to select analog input type.
The new option (NTC) - present on the new boards equipped with 'plug-in' terminals - allow for direct connection of
NTC probes.
"LARGE" board "SMALL" board
- SELECTION OF THE ANALOGUE INPUT -
<TPx> : number of analogue input ( x = B1,B2,B3,B4,B5,B6)
Selection of analogue input 4÷20 mA
4 3 2 1
TPx
Selection of analogue input -1÷1 V
4 3 2 1
TPx
Selection analogue input NTC
4 3 2 1
TPx
-INTERFACE TO "NTC" PROBES - (PLUG-IN TERMINALS ONLY)
ò
1 / 2
3 / 4
5 / 6
7 / 8
9 / 10
11 / 12
C / C
J100
J101
J102
J103
13 / 14
15 / 16
17 / 18
C / C
19 / 20
21 / 22
23 / 24
DW / UP
DW / UP
+ / +
M / M
M / M
- / -
B3 / B4
B1 / B2
+ / -
G0 / G0
Y1 / Y2
G0 / G0
Y3 / Y4
G0 / G0
T1 / T0
J104
J106
1C
1O
2C
2O
3C
3O
4C
4O
5C
5O
6C
6O
7C
7O
8C
8O
9C
9O
10C
10O
11C
11O
12C
12O
13C
13O
14C
14O
15C
15O
16C
16O
Ac
Ano
Anc
J107
J108
J109
J110
J111
J112
J113
J114
J6
J7
J5
1 0
SEL
J22
J21
4-20mA
4-20mA
B5 / B6
ANALOG
INPUT
TP6
TP5
TP4
TP3
TP2
TP1
PIN STRIP
ò
1 / 2
3 / 4
5 / 6
7 / 8
9 / 10
11 / 12
C / C
J100
J101
J102
J103
13 / 14
15 / 16
17 / 18
C / C
19 / 20
21 / 22
23 / 24
DW / UP
DW / UP
+ / +
M / M
M / M
- / -
B3 / B4
B1 / B2
+ / -
G0 / G0
Y1 / Y2
G0 / G0
Y3 / Y4
G0 / G0
T1 / T0
J104
J106
1C
1O
2C
2O
3C
3O
4C
4O
5C
5O
6C
6O
7C
7O
8C
8O
9C
9O
10C
10O
11C
11O
12C
12O
13C
13O
14C
14O
15C
15O
16C
16O
Ac
Ano
Anc
J107
J108
J109
J110
J111
J112
J113
J114
J6
J7
J5
1 0
SEL
J22
J21
4-20mA
4-20mA
B5 / B6
ANALOG
INPUT
TP6
TP5
TP4
TP3
TP2
TP1
PIN STRIP
-code INTMNTCD10 expandable
-code INTMNTCD11 non-expandable
- code INTMNTCB2H with hum. option
- code INTMNTCB20 without hum.option