EasyManua.ls Logo

Carel Macroplus - Schede DI Interfaccia con Morsetti a Vite; Schede DI Interfaccia con Morsetti Estraibili

Carel Macroplus
Print Icon
To Next Page IconTo Next Page
To Next Page IconTo Next Page
To Previous Page IconTo Previous Page
To Previous Page IconTo Previous Page
Loading...
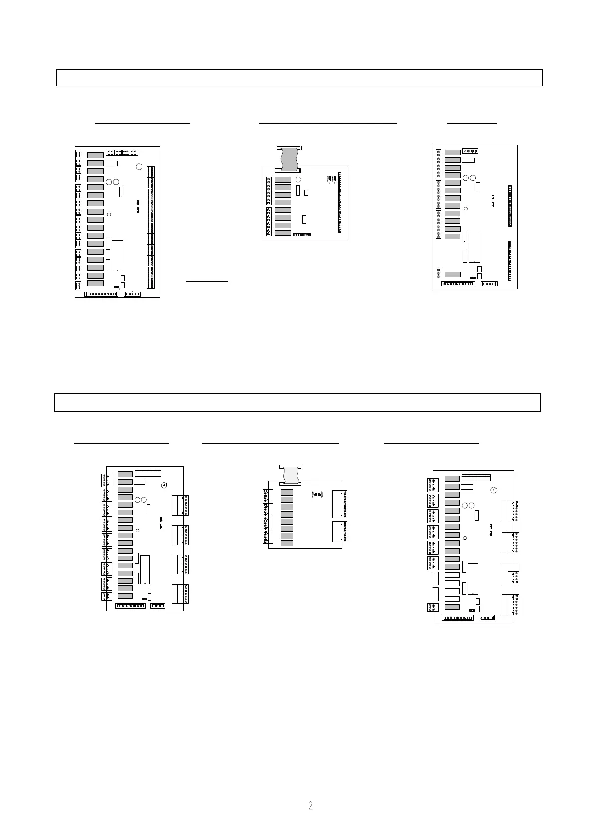
SCHEDA LARGE SCHEDA ADDIZIONALE SCHEDA
SMALL
-cod. INTMNEWB0H con opz. umidita'
-cod. INTMNEWB00 senza opz.
umidita'
SCHEDA LARGE SCHEDA ADDIZIONALE SCHEDA SMALL
-SCHEDE DI INTERFACCIA CON MORSETTI ESTRAIBILI-
-SCHEDE DI INTERFACCIA CON MORSETTI A VITE-
-cod. INTMNEWB2H con opz. umidita'
-cod. INTMNEWB20 senza opz. umidita'
-cod. INTMNEWD10 espandibile *
-cod. INTMNEWD11 non espandibile
-cod. INTMNEWA20
ò
1 / 2
3 / 4
5 / 6
7 / 8
9 / 10
11 / 12
C / C
J100
J101
J102
J103
13 / 14
15 / 16
17 / 18
C / C
19 / 20
21 / 22
23 / 24
DW / UP
DW / UP
DW / UP
+ / +
M / M
M / M
- / -
B3 / B4
B1 / B2
DW / UP
+ / -
G0 / G0
Y1 / Y2
G0 / G0
Y3 / Y4
G0 / G0
T1 / T0
J104
J106
1C
1O
2C
2O
3C
3O
4C
4O
5C
5O
6C
6O
7C
7O
8C
8O
9C
9O
10C
10O
11C
11O
12C
12O
13C
13O
14C
14O
15C
15O
16C
16O
Ac
Ano
Anc
J107
J108
J109
J110
J111
J112
J113
J114
J6
J7
J5
1 0
SEL
J22
J21
4-20mA
4-20mA
B5 / B6
17 o
18 c
18 o
19 c
19 o
20 c
20 o
21 c
21 o
22 c
22 o
23 c
23 o
24 c
24 o
J 14
J 15
J 16
J 17
J 50 J 70
J 6
J 1
J 2
17 c
DW / UP
- / -
M / M
B12/B14
B11/B13
+ / +
- / -
M/M
B8/B10
B7/B9
+ / +
32/31
G0 / C
Y8/30
G0/29
Y7/28
G0/C
Y6/27
G0/26
Y5/25
DW / UP
ò
1 / 2
3 / 4
5 / 6
7 / 8
9 / 10
11 / 12
C / C
J100
J101
J102
J103
13 / 14
15 / 16
17 / 18
C / C
19 / 20
21 / 22
23 / 24
DW / UP
DW / UP
DW / UP
+ / +
M / M
M / M
- / -
B1 / B2
B3 / B4
B1 / B2
DW / UP
+ / -
G0 / G0
Y1 / Y2
G0 / G0
Y3 / Y4
G0 / G0
T1 / T0
J104
J106
1C
1O
2C
2O
3C
3O
4C
4O
5C
5O
6C
6O
7C
7O
8C
8O
9C
9O
10C
10O
11C
11O
12C
12O
13C
13O
14C
14O
15C
15O
16C
16O
Ac
Ano
Anc
J107
J108
J109
J110
J111
J112
J113
J114
J6
J7
J5
1 0
SEL
J22
J21
4-20mA
4-20mA
-cod. INTMNEWB10 espandibile *
-cod. INTMNEWB11 non espandibile
-cod. INTMNEWA00
17C
17O
18C
18O
19C
19O
20C
20O
21C
21O
22C
22O
23C
23O
24C
24O
-
M
B14
B13
+
-
M
B12
B11
+
-
M
B10
B9
+
-
M
B8
B7
+
C
32
31
30
29
C
28
27
26
25
Y5 G0 Y6 G0 Y7 G0 Y8 G0
J104
J6
J7
J5
1 0
C
4
3
2
1
C
8
7
6
5
C
12
11
10
9
C
16
15
14
13
-
M
B2
B1
+
-
M
B4
B3
+
-
M
B6
B5
+
Y3
G0
Y2
G0
Y1
G0 G G0 24V~
1C
1O
2C
2O
3C
3O
4C
4O
5C
5O
6C
6O
7C
7O
8C
8O
9C
9O
10C
10O
11C
11O
12C
12O
Ac
Ano
Anc
Ac
Ano
Anc
J6
J7
J51 0
4-20 mA
4-20 mA
1c
1o
2c
2o
3c
3o
4c
4o
5c
5o
6c
6o
7c
7o
8c
8o
9c
9o
10c
10o
11c
11o
12c
12o
13c
13o
14c
14o
15c
15o
16c
16o
G0 24
G G0
CD2 CD1
L2 L1
T0
T1
G0
Y4
G0
Y3
G0
Y1
G0
Y1
-
M
B6
B5
+
-
M
B4
B3
+
-
M
B2
B1
+
C
24
23
22
21
C
20
19
18
17
C
16
15
14
13
C
12
11
10
9
C
8
7
6
5
C
4
3
2
1
"*"
In questa pagina viene riportata la scheda SMALL di tipo espandibile. La scheda SMALL di tipo non espandibile si
differenzia da quella espandibile solo perche' non presenta il connettore a 50 vie del flat per la connessione con la scheda addizionale.