EasyManua.ls Logo

CIAT MELODY - Page 10

CIAT MELODY
21 pages
Print Icon
To Next Page IconTo Next Page
To Next Page IconTo Next Page
To Previous Page IconTo Previous Page
To Previous Page IconTo Previous Page
Loading...
11
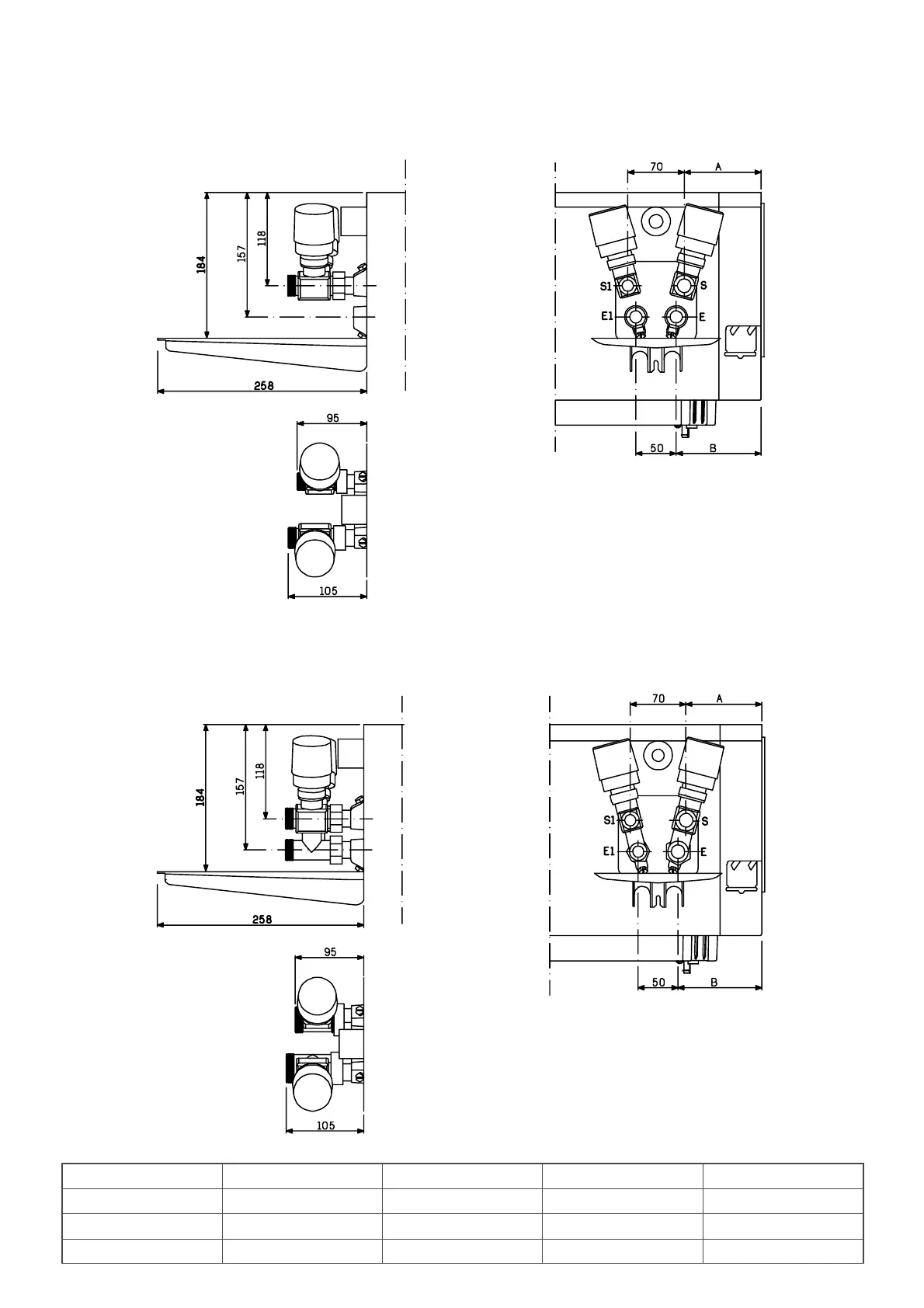
Ensemble kit vanne de
régulation
(option livrée séparément)
Batterie 2 tubes
Control valve kit
(option supplied separately)
2-tube battery

  

Batterie 4 tubes
4-tube battery

MELODY A B E - S E1 - S1
61-62 95 105 ø 1/2” ø 1/2”
63 95 105 ø 3/4” ø 1/2”
122-123 550 560 ø 1/2” ø 1/2”

Related product manuals