EasyManua.ls Logo

Commodore MPS-801 - Wiring Diagram

Commodore MPS-801
34 pages
Print Icon
To Next Page IconTo Next Page
To Next Page IconTo Next Page
To Previous Page IconTo Previous Page
To Previous Page IconTo Previous Page
Loading...
TO
CN 5
TO
CN 4
TO
CN3
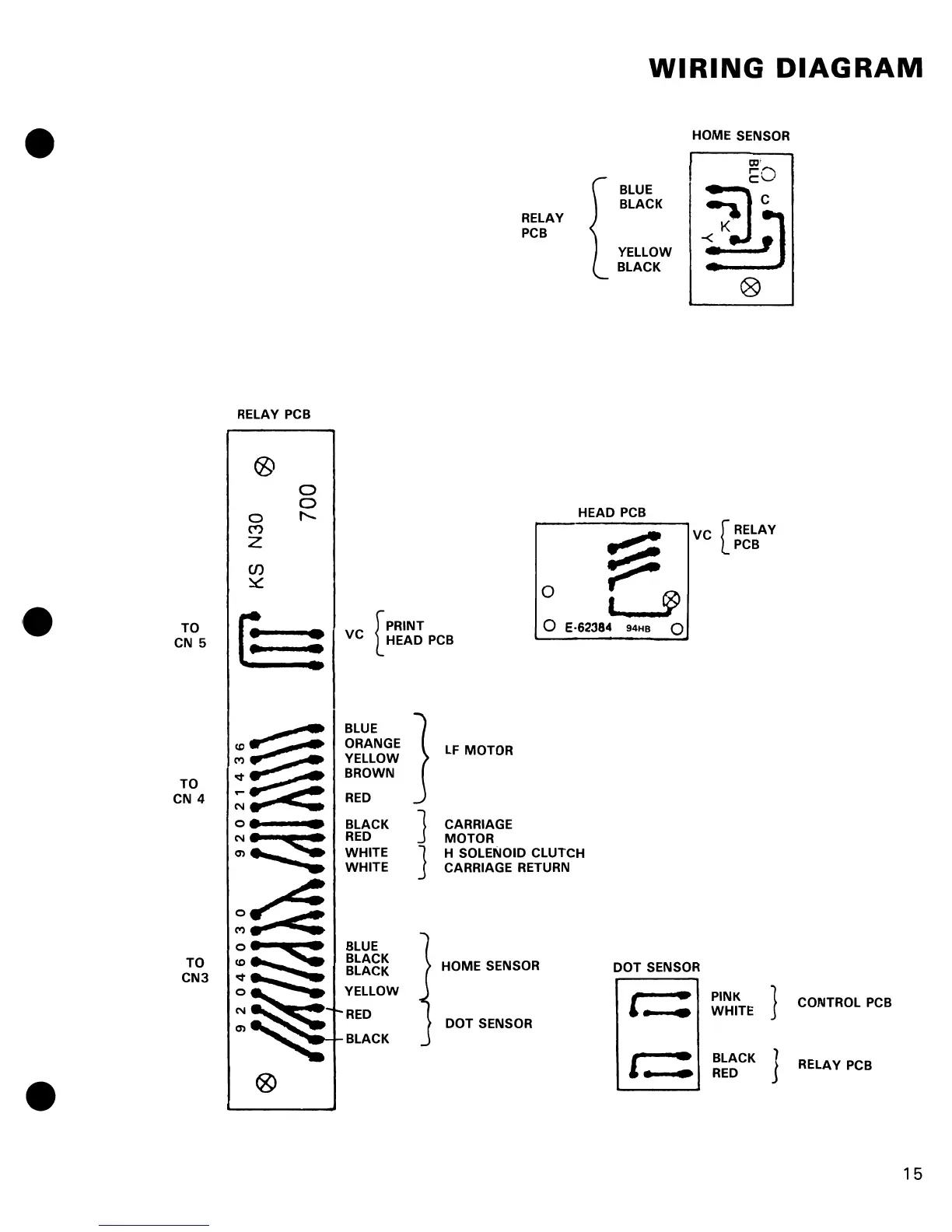
RELAY PCB
o
o
o
,.....
cry
Z
CJ)
~
r.....--.
'-=
~~:
:;::a
~
....
<
o.
~:...
':
~~
o.
:":
~~
:~
®
RELAY
PCB
0
WIRING
DIAGRAM
BLUE
BLACK
YELLOW
BLACK
HEAD
PCB
::;:
r~
HOME
SENSOR
VC
[RELAY
PCB
[
PRINT
VC
HEAD
PCB
0
E·62384
94HB
0
BLUE
}
ORANGE
LF
MOTOR
YELLOW
BROWN
RED
J
BLACK
CARRIAGE
RED
MOTOR
WHITE
J
H SOLENOID CLUTCH
WHITE
CARRIAGE RETURN
BLUE
BLACK
HOME SENSOR
DOT
SENSOR
BLACK
YELLOW
t--=
PINK
}
CONTROL PCB
RED
WHITE
DOT
SENSOR
BLACK
l.
:
BLACK
}
RELAY PCB
RED
15

Other manuals for Commodore MPS-801

Related product manuals