EasyManua.ls Logo

Commodore MPS-801 - MAINTENANCE

Commodore MPS-801
34 pages
Print Icon
To Next Page IconTo Next Page
To Next Page IconTo Next Page
To Previous Page IconTo Previous Page
To Previous Page IconTo Previous Page
Loading...
(X)
e
e
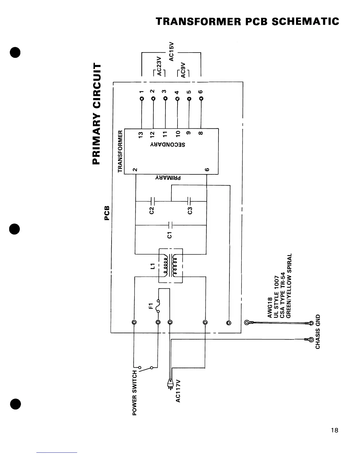
PCB
POWER SWITCH I
@-----
F1
l1
C2::!::
>
a:
<t
C1
-L
L-...
~
a:
,w
AC117V
Il..
C3-
T
I
I@I---------I
I
e
PRIMARY
CIRCUIT
TRANSFORMER
2
13
>
12
a:
<t
c
11
z
0
frl
10
rn
9
8
6
1---01
l
1----012
~
AC23V
1----
____
0
3
-l
1-----01
4
1------0
5
r----..,Q
6
AC15V
~9V
J
~--
----
AWG18
Ul
STYLE
1007
CSA TYPE TR-54
GREEN/YElLOW SPIRAL
CHASIS GND
...
::a
3>
Z
en
."
o
::a
s:
m
::a
."
n
m
en
n
:c
m
s:
3>
...
-
n

Other manuals for Commodore MPS-801

Related product manuals