EasyManua.ls Logo

Daikin FWEC2 - Page 11

Daikin FWEC2
Print Icon
To Next Page IconTo Next Page
To Next Page IconTo Next Page
To Previous Page IconTo Previous Page
To Previous Page IconTo Previous Page
Loading...
Manuale d'installazione e d'uso
7
FWEC2
Advanced electronic controller
FC66002764
L'utilizzo della resistenza elettrica, se selezionata da utente,
viene utilizzata su chiamata del termostato in base alla
temperatura ambiente
NB: l'attivazione comporta una forzatura della ventilazione
CONSENSO DELL'ACQUA
Il consenso per l'attivazione della resistenza è legato al
controllo della temperatura dell'acqua. Di seguito la logica di
consenso relativa
Tale consenso non verrà dato nel caso di sonda dell'acqua
non prevista o scollegata
DISPLAY
Il display visualizzerà le seguenti informazioni
Resistenza selezionata da utente: simbolo sso
Resistenza attiva:
simbolo lampeggiante
ECONOMY
La funzione Economy prevede una correzione del setpoint
di 2.5°C e una forzatura alla minima velocità disponibile per
ridurre il funzionamento del terminale.
Raffreddamento: set + 2.5°C
Riscaldamento: set - 2.5°C
ATTIVAZIONE
La funzione è attivabile con la pressione del tasto
DISPLAY
Sul display la funzione Economy
è indicata da simbolo
CONTROLLO MINIMA TEMPERATURA
Tale logica permette di controllare, con termostato spento,
che la temperatura ambiente non scenda troppo, forzando
eventualmente il terminale in modalità riscaldamento per il
tempo necessario.
Se presente la resistenza elettrica essa verrà utilizzata solo
nel caso in cui fosse stata precedentemente selezionata come
risorsa in Riscaldamento.
SELEZIONE
Il controllo Minima Temperatura è selezionabile, a termostato
spento, con la pressione contemporanea dei tasti .
La stessa combinazione di tasti disattiva tale funzionamento
ATTIVAZIONE
Se tale controllo è selezionato, il terminale si accenderà nel
caso in cui la temperatura ambiente scenda al di sotto dei
9°C.
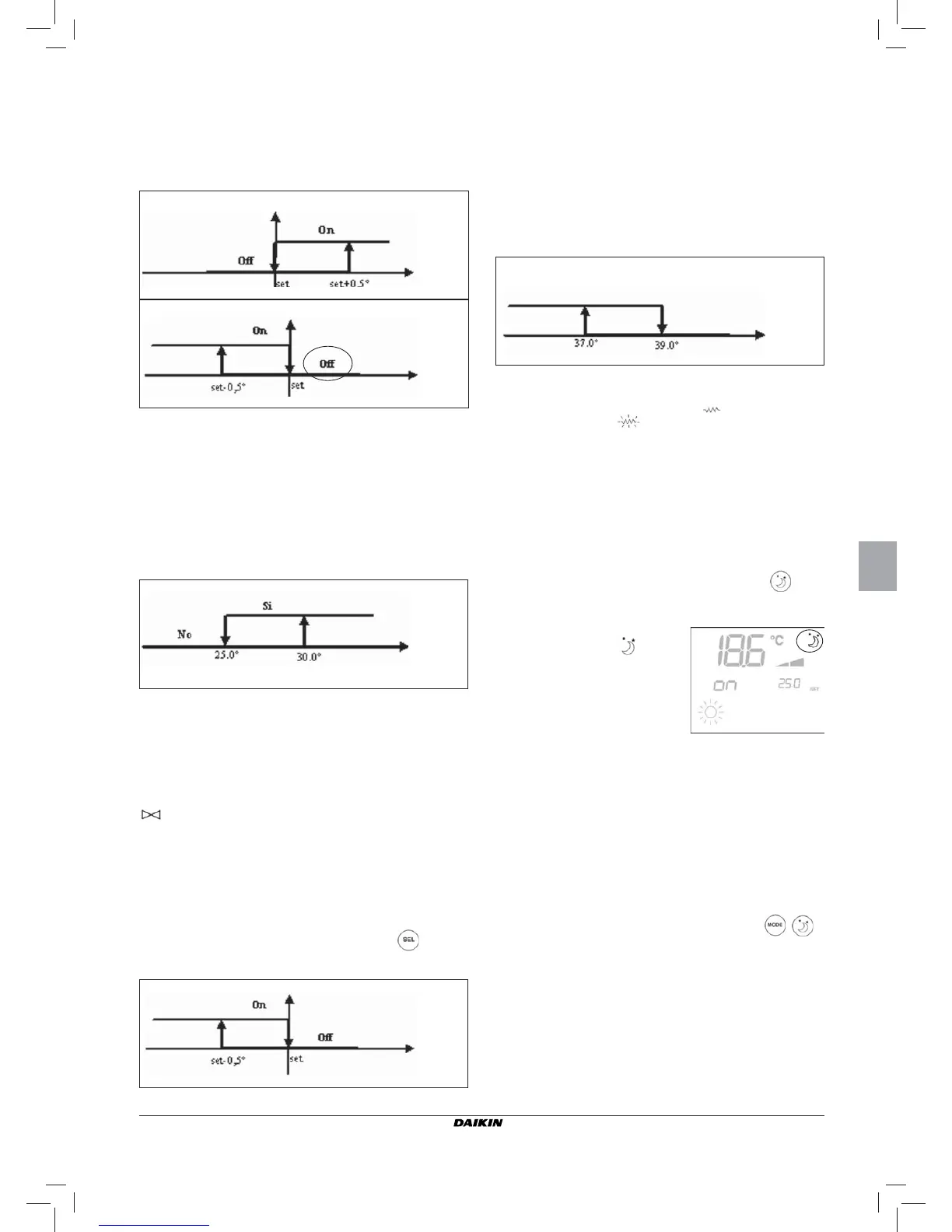
RISCALDAMENTO
Temp. acqua
ON
OFF
VALVOLA
Il controllo può gestire valvole a 2 o 3 vie di tipo ON OFF con
tensione di alimentazione 230V
APERTURA
L'apertura della valvola viene comandata in funzione del set
di lavoro e della temperatura dell'aria
CONSENSO DELL'ACQUA
Il controllo della temperatura dell'acqua per il consenso
all'apertura interessa solo con gurazioni con valvole a 3 vie
e resistenza elettrica.
In tali con gurazioni verrà fatto un controllo della temperatura
dell'acqua in caso di:
Riscaldamento con resistenza: il funzionamento della
resistenza comporta una forzatura della ventilazione; è
necessario quindi evitare l'eventuale passaggio di acqua
troppo fredda nel terminale.
Post ventilazione dovuta allo spegnimento resistenza:
mantenuta no allo scadere del tempo stabilito, anche nel
caso di cambio della modalità di funzionamento. Durante
tale post ventilazione il consenso dell'acqua coinciderà
con quello visto per la ventilazione.
DISPLAY
L'indicazione di valvola attiva sul display sarà data dal simbolo
RESISTENZA ELETTRICA
La resistenza elettrica è un dispositivo gestito come eventuale
supporto nella fase di riscaldamento.
SELEZIONE
Se prevista dalla con gurazione la resistenza può essere
selezionata in riscaldamento tramite il tasto Sel
ATTIVAZIONE
RAFFREDDAMENTO
Temp. aria
Temp. aria
RISCALDAMENTO
Temp. acqua
Temp. aria

Related product manuals