EasyManua.ls Logo

Daikin FWEC2 - Résistance Électrique

Daikin FWEC2
Print Icon
To Next Page IconTo Next Page
To Next Page IconTo Next Page
To Previous Page IconTo Previous Page
To Previous Page IconTo Previous Page
Loading...
Manuel d'installation et d'utilisation
7
FWEC2
Advanced electronic controller
FC66002764
La résistance électrique sélectionnée par l’utilisateur est
activée par le thermostat en fonction de la température
ambiante
NB: l’activation comporte une ventilation forcée
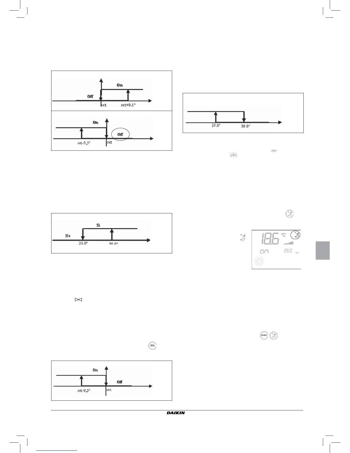
ACTIVATION EAU
La commande d’activation de la résistance est liée au
contrôle de la température de l’eau. Ci-dessous, la logique
d’activation.
Cette commande ne sera pas fournie si la sonde n’est pas
prévue ou est désactivée
MONITEUR
Le moniteur af che les informations suivantes
Résistance sélectionnée par l’utilisateur: symbole xe
Résistance active:
symbole clignotant
ECONOMY
La fonction Economy prévoit une correction du setpoint de
2,5 C° et un forçage à la vitesse minimum pour réduire le
fonctionnement de l’unité.
Rafraîchissement: set +2,5°C
Chauffage: set -2,5°C
ACTIVATION
Pour déclencher la fonction, appuyer sur la touche
MONITEUR
Sur le moniteur la fonction Economy
est déclenché par le symbole
CONTRÔLE TEMPÉRATURE MINIMUM
Le thermostat étant éteint, cette logique empêche que la
température ambiante ne déscende trop tr4op et pour cela
l’unité est forcée dans le mode chauffage pour le temps
nécessaire.
Si présente, la résistance électrique n’est utilisée que dans
le cas où elle serait précédemment sélectionnée comme
chauffage d’appoint.
SÉLECTION
Pour sélectionner le contrôle de la Température Minimum,
appuyer simultanément sur les touches le thermostat
étant éteint.
Pour désactiver le fonctionnement, utiliser la même combinaison
des touches
ACTIVATION
Si cette fonction est sélectionnée, l’unité s’allume lorsque la
température ambiante descend au-dessous de 9°C.
VANNE
Le contrôleur est capable de gérer les vannes à 2 ou 3 voies
de type ON/OFF, alimentation 230 V.
OUVERTURE
L’oouverture de la vanne est commandée en fonction du
setpoint de service et de la température de l’air
ACTIVATION EAU
Le contrôle de la température de l’eau pour activer l’ouverture
est prévu uniquement dans les con gurations avec vannes à
3 voies et résistance électrique.
Avec ces con gurations. Le contrôle de la température est
effectué dans les cas suivants:
Chauffage avec résistance: le fonctionnement de la
résistance comporte un forçage de la ventilation. Il est
donc nécessaire d’éviter le passe d’eau trop froide dans
l’unité.
Post ventilation due à l’extinction de la résistance:
maintenue jusqu’à l’échéance du temps étabgli même
si la modalité de fonctionnement est modi ée. Durant la
post-ventilation la fonction eau coïncide avec la fonction
ventilation.
MONITEUR
L’indication de vanne activée sur le moniteur est donnée par
le symbole
RÉSISTANCE ÉLECTRIQUE
La résistance électrique est un dispositif ayant la fonction
d’appoint dans la phase de chauffage.
SÉLECTION
Si prévue par la con guration, la résistance peut être sélection-
née en mode chauffage à l’aide de la touche Sel
ACTIVATION
RAFRAÎCHISSEMENT
Temp. air
Temp. air
CHAUFFAGE
Temp. eau
Temp. air
CHAUFFAGE
Temp. eau
ON
OFF

Related product manuals