EasyManua.ls Logo

Dalsa P-2 Series - Camera Performance Specifications

Dalsa P-2 Series
85 pages
Print Icon
To Next Page IconTo Next Page
To Next Page IconTo Next Page
To Previous Page IconTo Previous Page
To Previous Page IconTo Previous Page
Loading...
8 Piranha2 User’s Manual
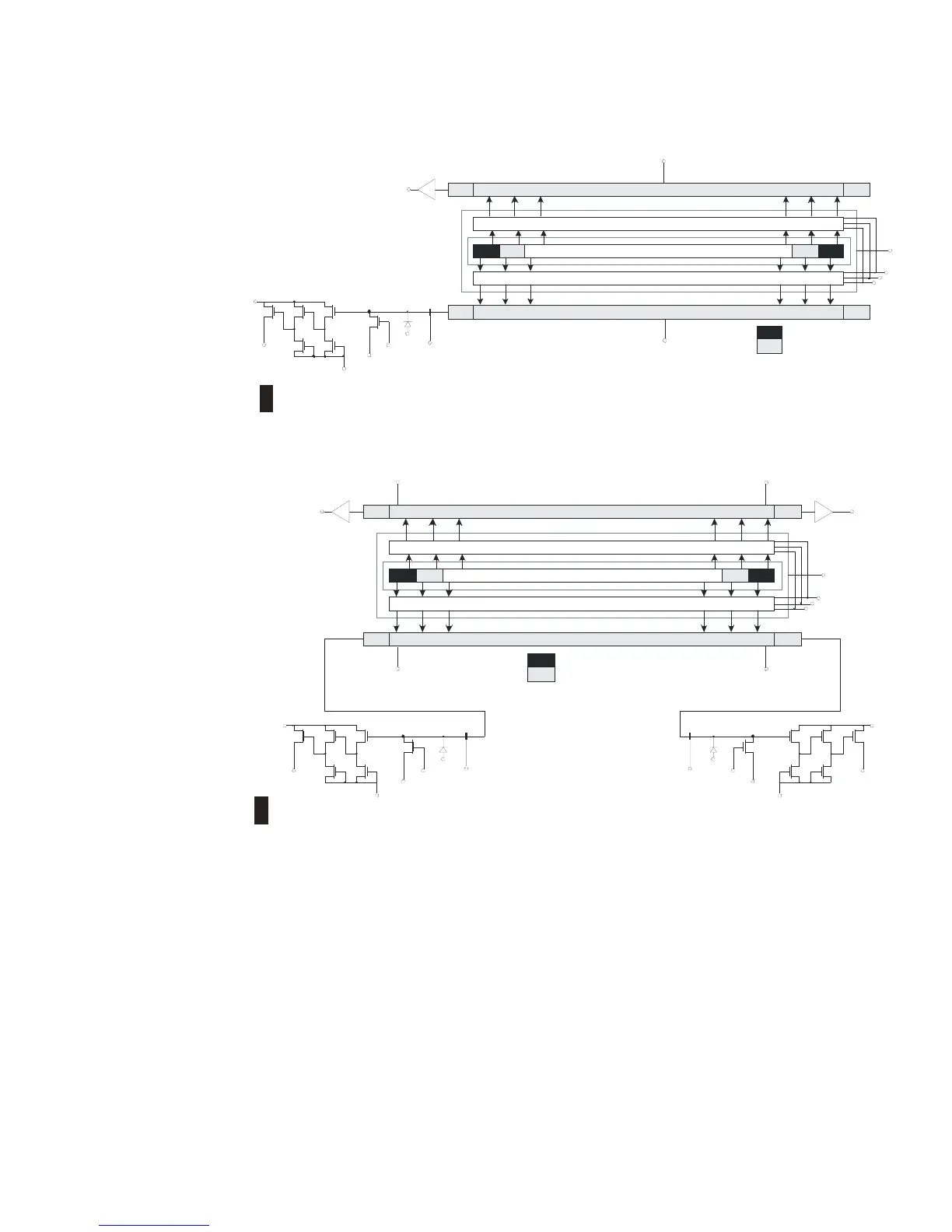
Figure 3: IL-P4 Image Sensor (4k (7µm), 6k, and 8k, 2 tap models)
N Pinned Photodiodes (7µm x 7µm)4 I32 S 4 I 32 S
CCD Readout Shift Register
CCD Readout Shift Register
5 I
5 I
4 I
4 I
TCK
PR
VPR
VSTOR
CR1, CR2
,
CRLAS
T
CR1, CR2, CRLAST
VSET
VBB
RST
VO D
VSS
VDD
OS1
32 S
4 I
Light-shielded pixels
N = 4096, 6144 or 8192
Isolation pixels
OS2
St or age Well w ith Expo sure Cont rol and Reset St ruct ure
St or age Well w ith Expo sure Cont rol and Reset St ruct ure
Rel ative po si t ion o f package Pi n 1
1
Figure 4. IT-P4 Image Sensor (4k (7µm), 6k, and 8k, 4 tap models)
N Pinned Photodiodes (7µm x 7µm )4 I32 S 4 I 32 S
St or age Well wit h Ex posure Cont rol and Reset St r uct ure
St or age Well wit h Ex posure Cont rol and Reset St r uct ure
CCD Readout Shift Register
CCD Readout Shift Register
5 I
5 I
5 I
5 I
OS4
TCK
PR
VPR
VSTOR
CR1, CR2
,
CRLAST- L
CR1, CR2,
CRLAST- L
CR1, CR2
,
CRLAST-R
CR1, CR2,
CRLAST- R
32 S
4 I
Light -shielded pixels
N = 4096, 6144 or 8192
Isolation pixels
VSET-R
VBB
RST- R
VO D - R
VSS-R
VDD
OS3
VSET- L
VBB
RST- L
VO D - L
VSS- L
VDD
OS1
OS2
Relative position
of p ackage Pi n 1
1
1.3 Camera Performance Specifications
The following two tables list the camera’s performance specifications. The first table lists
the operating ranges of the camera, and the second table lists the performance
specifications at minimum, nominal and maximum gain levels at 1kHz data rate. Note
that as gain levels increase, performance decreases, because your signal to noise
decreases.
Also note that the cameras performance specifications were obtained using a line rate of
only 1kHz. At low line rates, dark current can become a significant source of noise and
appears in specifications such as FPN, PRNU and noise. If you operate the camera at
faster line rates, such as 10kHz or greater, the amount of dark current will be reduced by
10x or greater.
03-32-00493-11 DALSA

Table of Contents

Related product manuals