EasyManua.ls Logo

DCS 954 - Six Channel PCM Set up; Figure 11 - Six Channel Set up

DCS 954
89 pages
Print Icon
To Next Page IconTo Next Page
To Next Page IconTo Next Page
To Previous Page IconTo Previous Page
To Previous Page IconTo Previous Page
Loading...
dCS 954 User Manual Manual for Standard Software Version 1.5x
dCS Ltd June 2000
Manual part no: DOC136954 iss 2B1
Page 32
file 135954ma2b1.pdf available from website
Contact
dCS
on + 44 1799 531 999 email to: more@dcsltd.co.uk
(inside the UK replace + 44 with 0) web site: www.dcsltd.co.uk
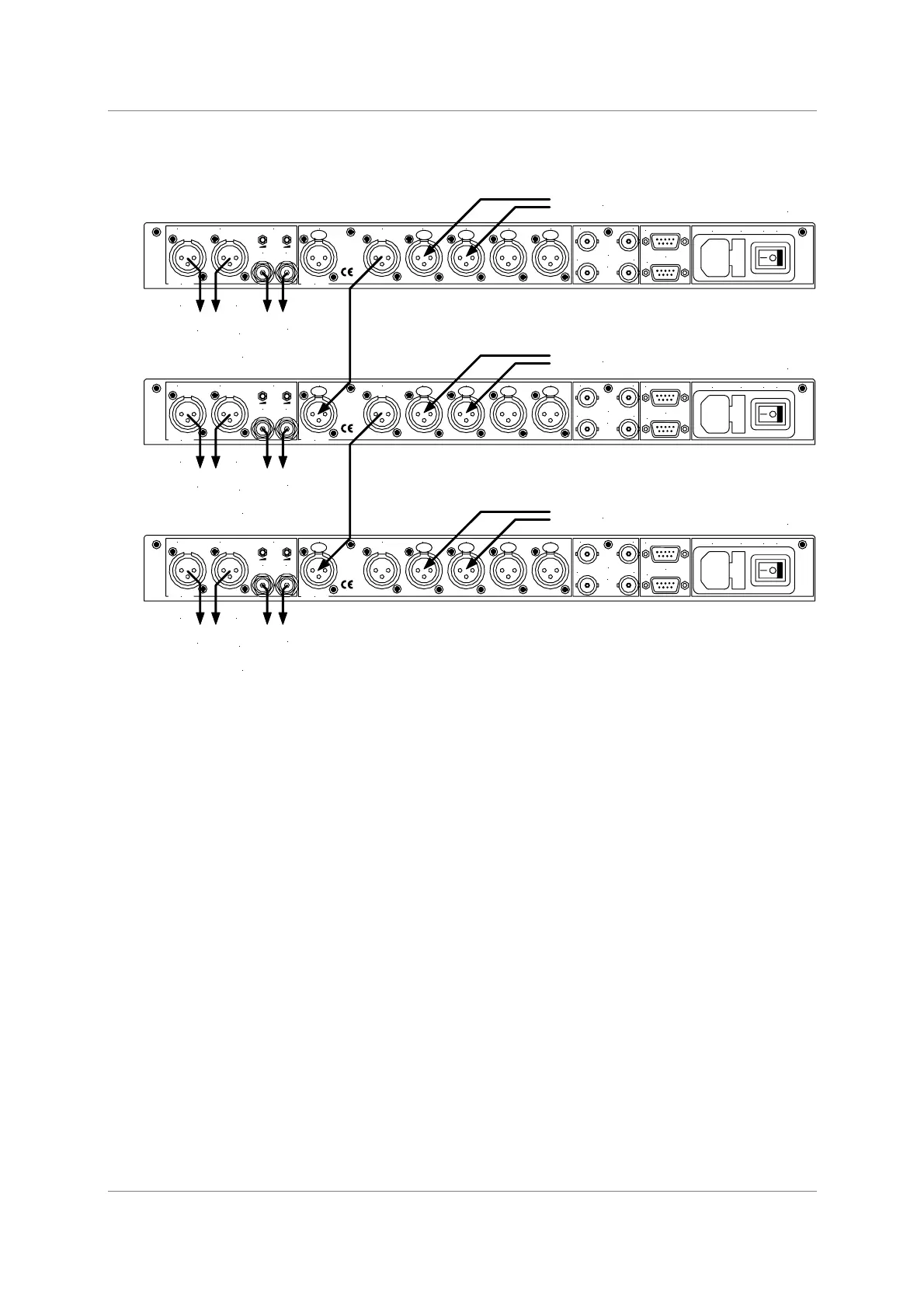
Six Channel PCM Set Up
PUSH PUSH PU SH PUSH PUSH
Analogue
CH1(L) CH2(R) Sensitivity
CH1(L) CH2(R)
Digital I/O
Reference In Reference Out AES1 AES2 AES3 AES4 CH1 CH2
In Out
SDIF-2/DSD
75R
Clk
Remote
In
Out
MAINS FUSE 2A(T) ON OFF
24/96 Dual AES
Channels 5 & 6
Balanced
outputs
Unbalanced
outputs
- or -
To pre or power amplifier
dC S 954
Ch5 Ch6
PUSH PUSH PU SH PUSH PUSH
Analogue
CH1(L) CH2(R) Sensitivity
CH1(L) CH2(R)
Digital I/O
Reference In Reference Out AES1 AES2 AES3 AES4 CH1 CH2
In Out
SDIF-2/DSD
75R
Clk
Remote
In
Out
MAINS FUSE 2A(T) ON OFF
24/96 Dual AES
Channels 3 & 4
Balanced
outputs
Unbalanced
outputs
- or -
To pre or power amplifier
dC S 954
Ch3 Ch4
PUSH PUSH PU SH PUSH PUSH
Analogue
CH1(L) CH2(R) Sensitivity
CH1(L) CH2(R)
Digital I/O
Reference In Reference Out AES1 AES2 AES3 AES4 CH1 CH2
In Out
SDIF-2/DSD
75R
Clk
Remote
In
Out
MAINS FUSE 2A(T) ON OFF
24/96 Dual AES
Channels 1 & 2
Balanced
outputs
Unbalanced
outputs
- or -
To pre or power amplifier
dC S 954
Ch1 Ch2
Figure 11 – Six channel set up
do this: The top dCS 954 needs to have its Ref In option set to Route, the middle
one to Loop and the bottom one to Loop.t.
The units self align quite accurately (see section “Sample Alignment on page
41 onwards). Alternatively, Word Clock may be used as the syncing method,
with no special set ups.
If the six channels are not bit-aligned, all three units should be slaved to their
AES inputs, rather than Reference In.

Table of Contents

Related product manuals