EasyManua.ls Logo

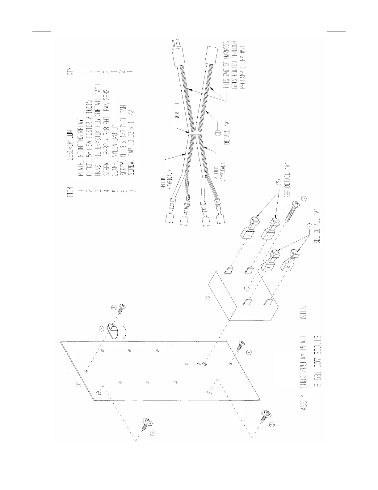
Dixie Narco 501E - Choke and Relay Plate Assembly

Dixie Narco 501E
85 pages
Print Icon
To Next Page IconTo Next Page
To Next Page IconTo Next Page
To Previous Page IconTo Previous Page
To Previous Page IconTo Previous Page
Loading...
WIRING DIAGRAMS AND SCHEMATICS
44

Table of Contents

Related product manuals