EasyManua.ls Logo

Dover HEIL DuraPack Python - Page 55

Dover HEIL DuraPack Python
190 pages
Print Icon
To Next Page IconTo Next Page
To Next Page IconTo Next Page
To Previous Page IconTo Previous Page
To Previous Page IconTo Previous Page
Loading...
Issued July 2024
Lift Arm
Copyright 2024, The Heil Co.
Printed in the U.S.A.
Lift Arm
49
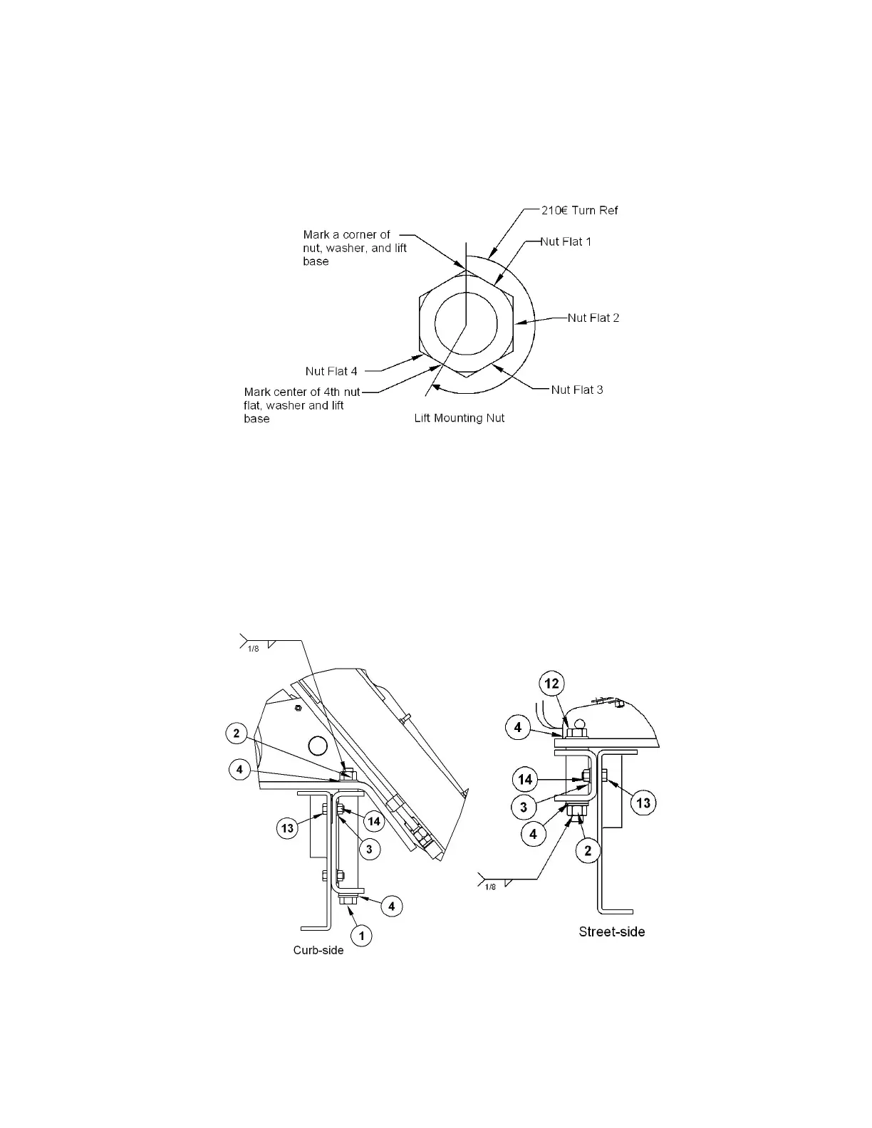
CHECK LIFT AND TORQUE MOUNT BASE BOLTS (CONTINUED)
Figure 13. Lift Mount Bolt
7. Use a wrench and extension handle to turn the nut's marked corner to the second mark at the center of the fourth nut
flat. It is critical that the head of the bolt is held in place and not allowed to rotate further. Brace the wrench handle as
necessary.
8. Weld the nut to the bolt as specified. Welding the nut prevents the nut from loosening and prevents the bolt and nut
from being reused.
9. Do not remove paint marks
Figure 14. Lift Mount Bolt Location
Figure 15. Lift Mount Bolt
Location

Table of Contents