EasyManua.ls Logo

Dynalog C-SCAN 2000 Series - Page 36

Dynalog C-SCAN 2000 Series
39 pages
Print Icon
To Next Page IconTo Next Page
To Next Page IconTo Next Page
To Previous Page IconTo Previous Page
To Previous Page IconTo Previous Page
Loading...
Leaders in Pipeline Survey Systems
OPERATOR’S MANUAL
Issue 4.04 - 1207 36
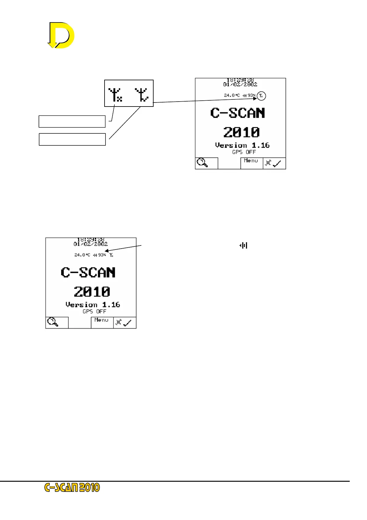
There are messages that are displayed to tell the user which part of C-Scan is active. This can
be summarised at the start screen
All menu functions switch off the Antennae. Similarly, if the unit has been idle on the START
screen for more than 3 minutes, the antennae is switched off. (On initial switch on, the antennae
is off until the search key is pressed). The whole unit switches off after 5 minutes.
If the GPS is on and the unit is at the START screen, the unit will switch off 5 minutes after
acquisition.
If the unit is left ON in the SEARCH screen, it will remain on until the batteries are exhausted.
Battery level is indicated by the
93% symbol.
Values can range from 0% to 110%.
0% indicates the batteries are exhausted and the unit will
automatically switch off. The batteries should be charged at
this point.
Low battery will be indicated at 5%. This is sufficient to do one
short survey!
A
n
te
nn
ae
O
FF
A
ntennae ON

Other manuals for Dynalog C-SCAN 2000 Series

Related product manuals