EasyManua.ls Logo

Dynalog C-SCAN 2010 - Close Interval Survey

Default Icon
41 pages
Print Icon
To Next Page IconTo Next Page
To Next Page IconTo Next Page
To Previous Page IconTo Previous Page
To Previous Page IconTo Previous Page
Loading...
Leaders in Pipeline Survey Systems
4 - 10
OPERATING MANUAL
4.8 Close Interval Survey
When a normal survey is proceeding, it is desirable to find the position of a fault.
Close interval mode is used to pin-point a fault to within +/-1m (or better
depending on conditions).
NOTE: Normal attenuation readings have no meaning when the distance interval is less
than(<)15m. This is because small distances create large attenuations on small current changes
this effectively makes the attenuation values difficult to interpret. The Close Interval mode uses
current only to map a section of pipeline.
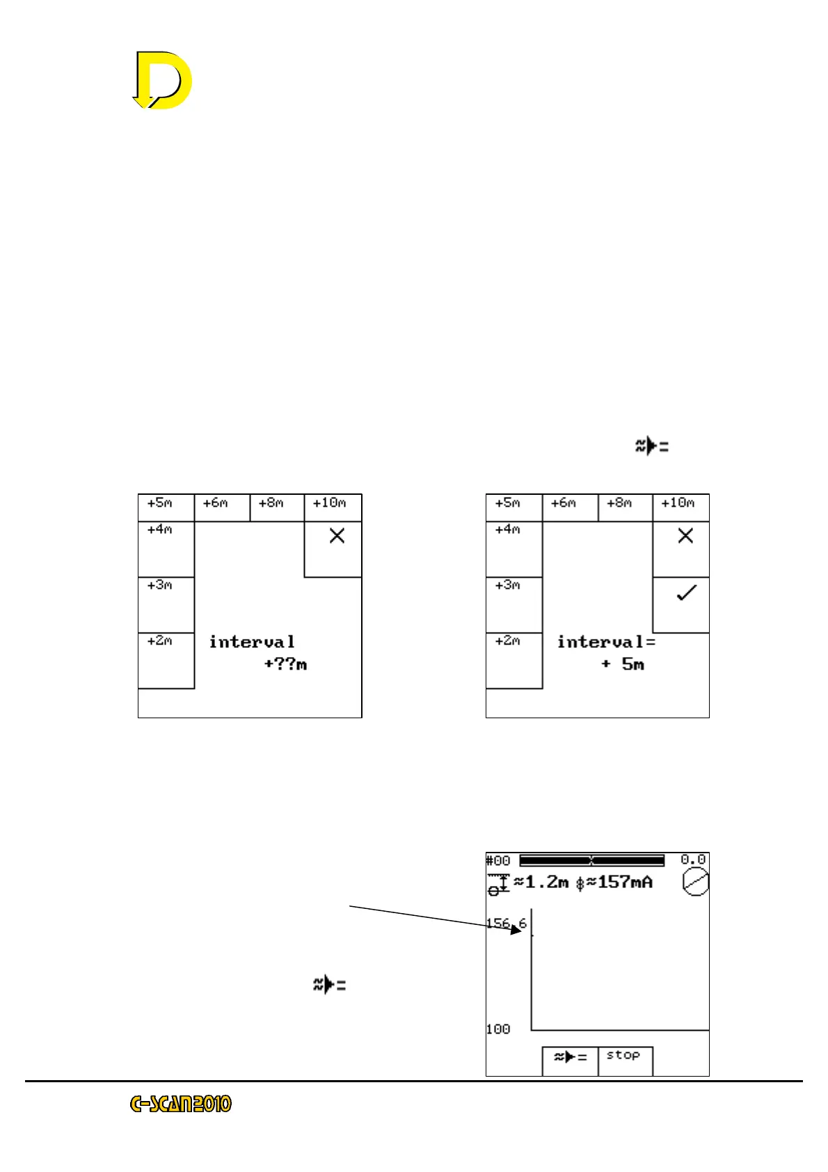
To start a close interval survey, rather than press the calculate key ( ),
press the key marked ‘close’. This will reveal the following screen:
The close interval mode takes readings at set intervals. This is set by the screen
as shown (5m in this case). It is important that the readings are taken at these
intervals, otherwise errors will appear.
After selecting the interval, the following screen is shown.
This displays the calculated current in real-
time for each point. As the reading is taken, a
dot is displayed on the graph.
Check the unit is overhead (use circle and to
bar as before).
Press the calculate key( ). After taking
300 samples, the graph changes to a vertical

Related product manuals