EasyManua.ls Logo

Eaton SEFELEC 506-H - Page 159

Eaton SEFELEC 506-H
209 pages
To Next Page IconTo Next Page
To Next Page IconTo Next Page
To Previous Page IconTo Previous Page
To Previous Page IconTo Previous Page
Loading...
User manual SEFELEC 5x Series 158 v1.06
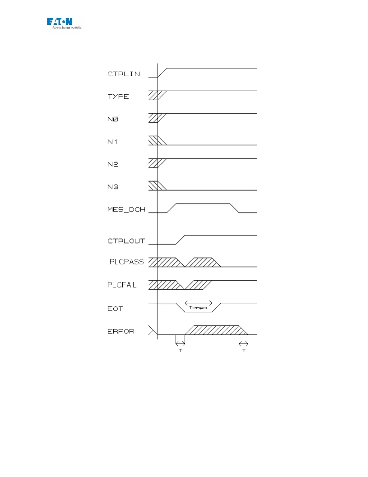
Diagram No. 2: Launch of an insulation test
Memory 5 - Test result NG.

Table of Contents

Related product manuals