EasyManua.ls Logo

Edwards Diffstak 63/150 - Sectional View of Valved Diffstak 160;700 Pump

Edwards Diffstak 63/150
64 pages
Print Icon
To Next Page IconTo Next Page
To Next Page IconTo Next Page
To Previous Page IconTo Previous Page
To Previous Page IconTo Previous Page
Loading...
B344-21-880 Issue N
Page 6 © Edwards Limited 2007. All rights reserved.
Edwards and the Edwards logo are trademarks of Edwards Limited.
Introduction
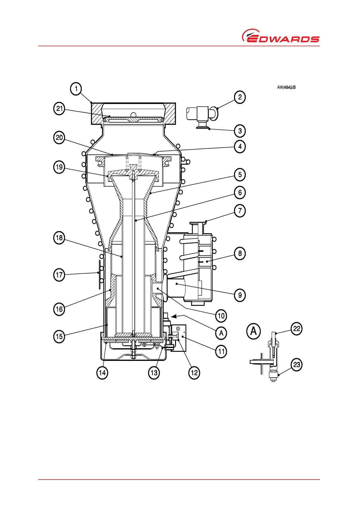
Figure 3 - Sectional view of valved Diffstak 160/700 pump
1. Inlet-flange
2. Gauge connection
3. Roughing connection
4. Retainer strap
5. 2nd-stage jet assembly
6. Tie-rod
7. Backing connection
8. Baffle condenser
9. Backing spout
10. Ejector jet
11. Terminal-box
12. Terminal-block
13. Electrical cables
14. Heater
15. Pump-boiler
16. 3rd-stage jet assembly
17. Cooling-fail thermal switch
mounting plate
18. Vapour-tube
19. Top-jet assembly
20. Baffle cap
21. High-vacuum isolation-valve
22. Fluid filler and dipstick
assembly
23. Fluid drain

Table of Contents

Related product manuals