EasyManua.ls Logo

Edwards Diffstak 63/150 - Page 55

Edwards Diffstak 63/150
64 pages
Print Icon
To Next Page IconTo Next Page
To Next Page IconTo Next Page
To Previous Page IconTo Previous Page
To Previous Page IconTo Previous Page
Loading...
© Edwards Limited 2007. All rights reserved. Page 47
Edwards and the Edwards logo are trademarks of Edwards Limited.
Maintenance
B344-21-880 Issue N
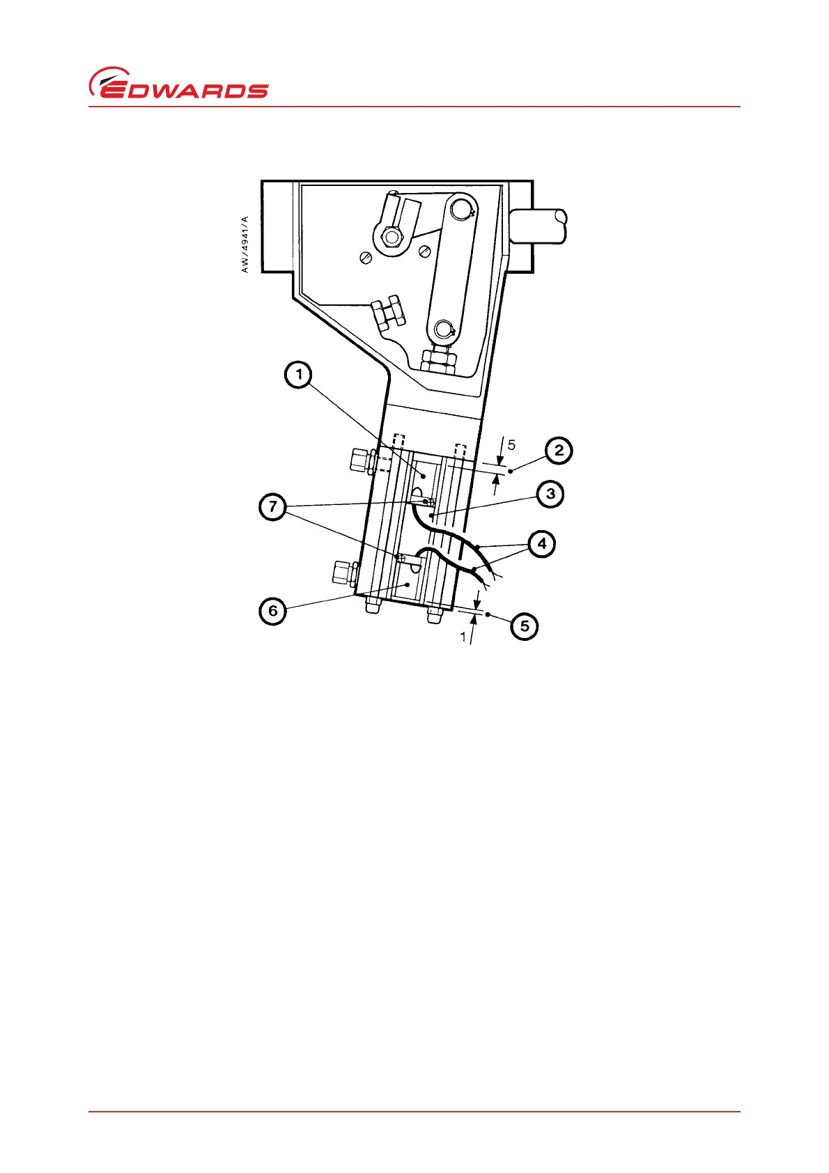
Figure 27 - Adjust or replace the position indicators
1. Position indicator (valve closed)
2. Gap
3. Dovetail groove
4. Position indicator wires
5. Gap
6. Position indicator (valve open)
7. Clamp screw

Table of Contents

Related product manuals