EasyManua.ls Logo

Electrolux T5675 N2 - Page 43

Electrolux T5675 N2
146 pages
Print Icon
To Next Page IconTo Next Page
To Next Page IconTo Next Page
To Previous Page IconTo Previous Page
To Previous Page IconTo Previous Page
Loading...
Service Manual
43
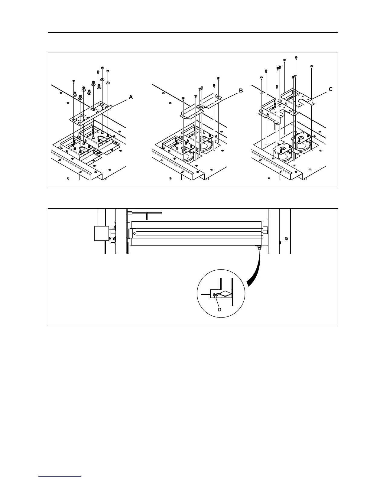
Demount the two “locking panels” (A). Demount the two air reducing plates (B). Demount the two brackets (C).
fig.7277
Loosen the screw and nut (D) holding the gas burner to remove the gas burner.
fig.W00239B
Mount the new gas burner with the nut and screw from the old one.
Remount the two brackets (C), the two air reducing plates (B) and the two “locking panels” (A). Fasten the gas burner
to the gas valve.
Remount the gas unit.
Remount the two rear panels and connect the gas inlet.

Table of Contents

Related product manuals