EasyManua.ls Logo

Empisal EES10 - Using the needle threader

Empisal EES10
44 pages
Print Icon
To Next Page IconTo Next Page
To Next Page IconTo Next Page
To Previous Page IconTo Previous Page
To Previous Page IconTo Previous Page
Loading...
10
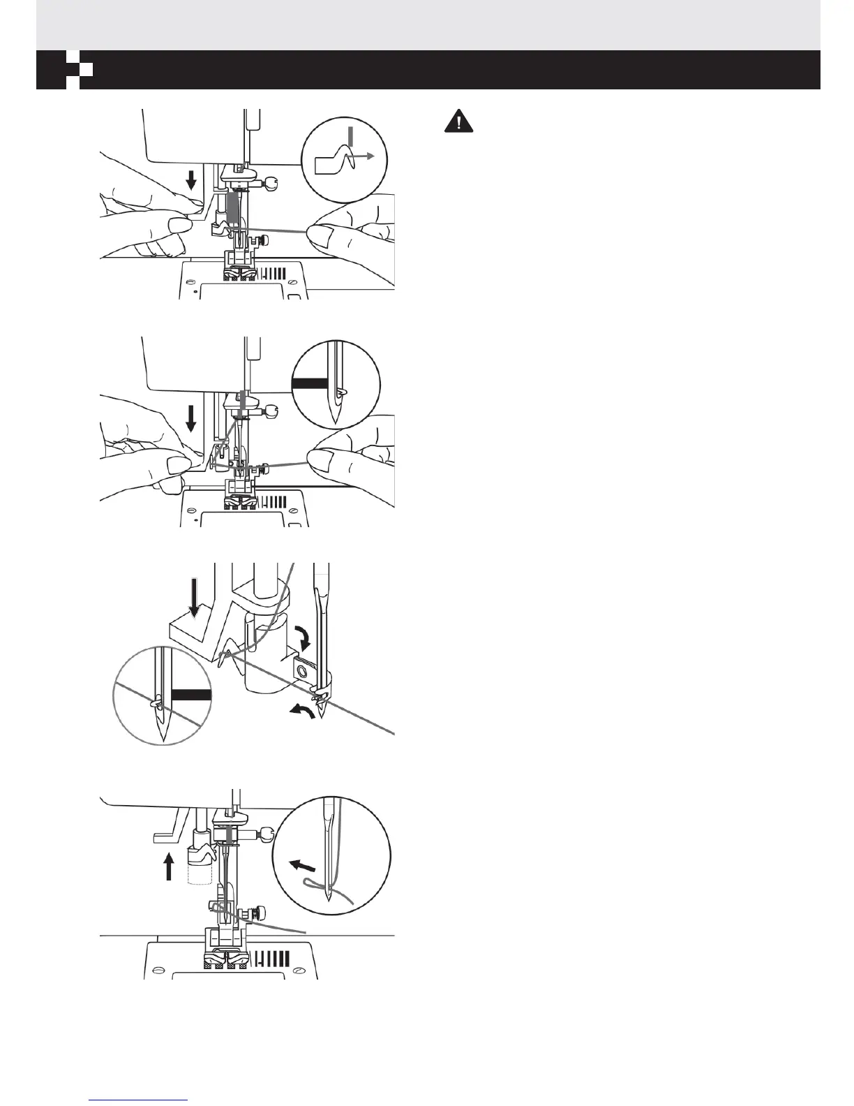
Using the needle
thr
eader
Attention: Turn power switch to the
OFF position ("O").
Raise t he n e e d l e to its highest position
and
lower the presser foot.
Lower the needle threader lever slowly and draw
the thread through the thread guide as illustrated
and then to the right.
The needle threader automatically turns to the
threading position and the hook pin passes through
the needle eye.
Take the thread in front of the needle.
Hold the thread loosely and release the lever slowly.
The hook will turn and pass the thread through the
needle eye forming a loop.
Pull the thread through the needle eye.

Related product manuals