EasyManua.ls Logo

ensto EVB200EB-B4BC - Accessories

ensto EVB200EB-B4BC
36 pages
Print Icon
To Next Page IconTo Next Page
To Next Page IconTo Next Page
To Previous Page IconTo Previous Page
To Previous Page IconTo Previous Page
Loading...
RAK139_ENG / 2023-09-14
6 / 36
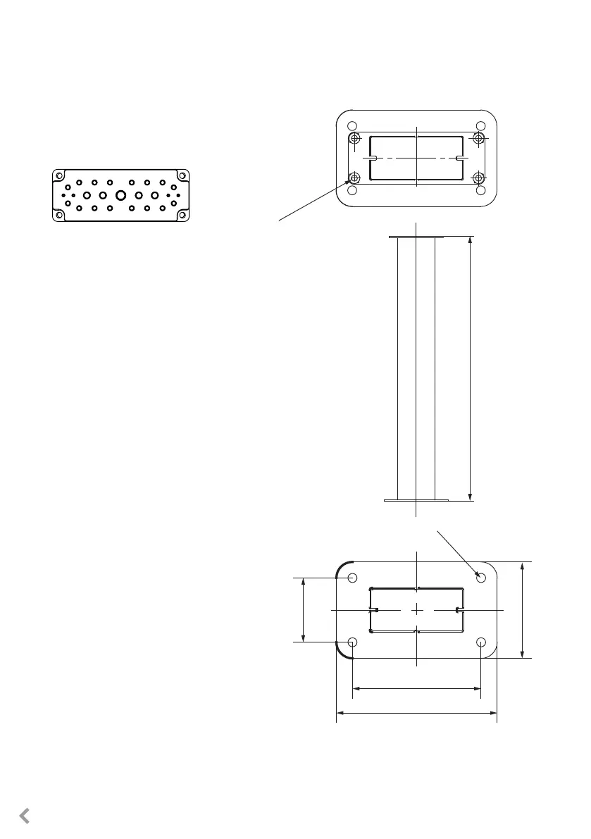
EVTL43.00
Ground / Floor mounting pole
Flange 2202
(not necessary with this product)
5. Accessories
200
250
150
4 x Ø14
100
1029,5
(4 x Ø9,5)

Related product manuals