EasyManua.ls Logo

Epson LQ-670 - Paper Handling Issues

Epson LQ-670
135 pages
To Next Page IconTo Next Page
To Next Page IconTo Next Page
To Previous Page IconTo Previous Page
To Previous Page IconTo Previous Page
Loading...
LQ-670 Service Manual
Rev. A
A-
7
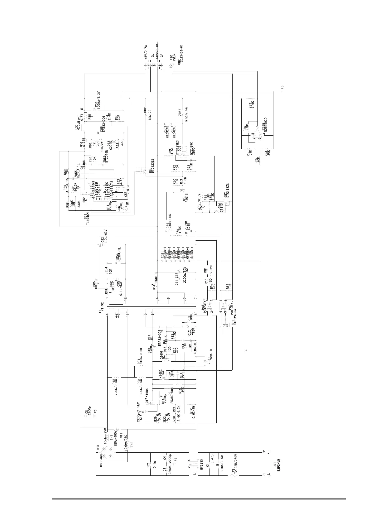
: Heat Sink (Q1, D51)
Figure A-4. C214PSE Board Circuit Diagram

Table of Contents

Other manuals for Epson LQ-670

Related product manuals