EasyManua.ls Logo

ESAB Multimaster 300X - Page 72

ESAB Multimaster 300X
86 pages
Print Icon
To Next Page IconTo Next Page
To Next Page IconTo Next Page
To Previous Page IconTo Previous Page
To Previous Page IconTo Previous Page
Loading...
72
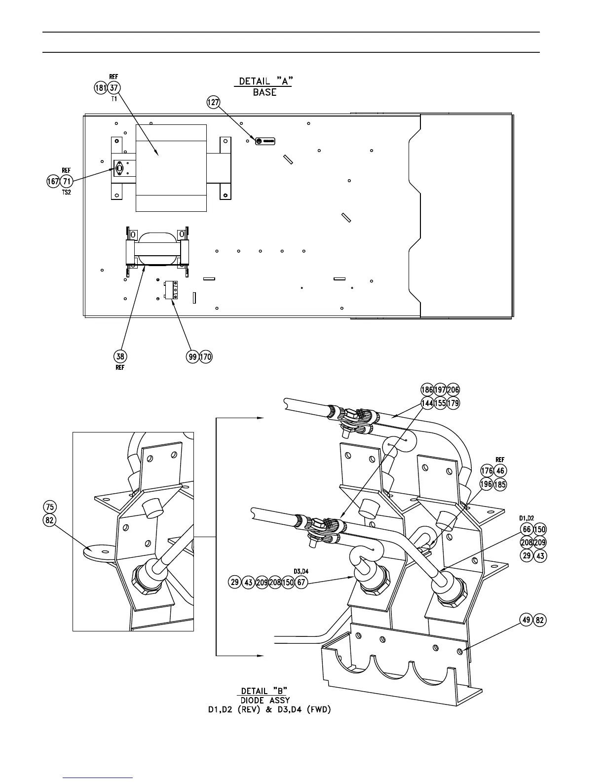
SECTION 6 REPLACEMENT PARTS

Related product manuals