EasyManua.ls Logo

EXFO FTBx-9110 - Page 13

EXFO FTBx-9110
123 pages
Print Icon
To Next Page IconTo Next Page
To Next Page IconTo Next Page
To Previous Page IconTo Previous Page
To Previous Page IconTo Previous Page
Loading...
Introducing the Optical Switch
Optical Switch 7
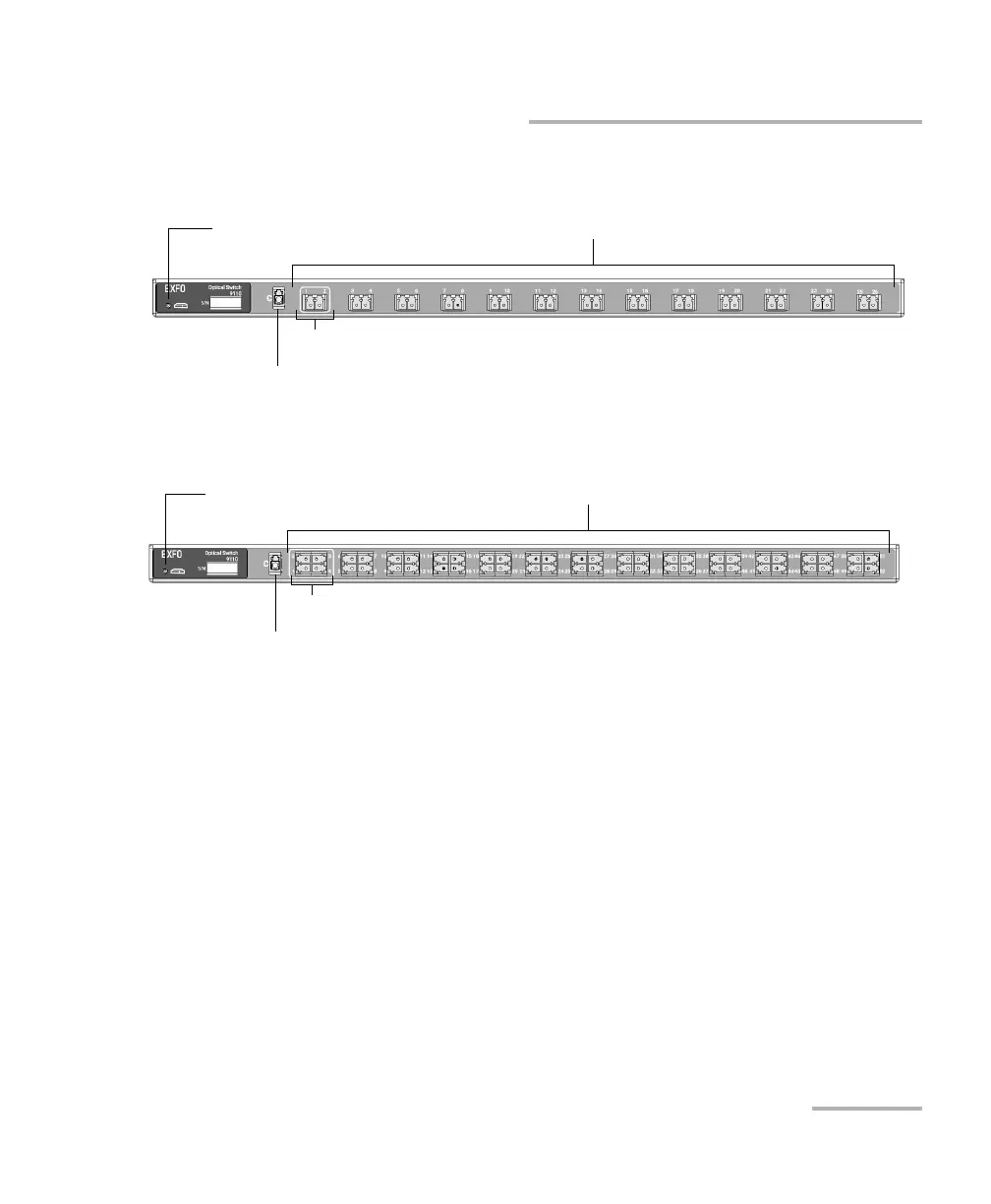
Available Models
RTUe-9110 switch - Front - Single-channel-width model - 26 ports
LED Switch ports
Common port
Upgrade ports
RTUe-9110 switch - Front - Single-channel-width model - 52 ports
LED Switch ports
Common port
Upgrade ports

Table of Contents