EasyManua.ls Logo

Extra 300S - Range and Endurance Chart

Extra 300S
226 pages
Print Icon
To Next Page IconTo Next Page
To Next Page IconTo Next Page
To Previous Page IconTo Previous Page
To Previous Page IconTo Previous Page
Loading...
Page Date: 20. April 2002 5 - 11
Section 5
Performance
Pilot“s Operating Handbook
EXTRA 300S
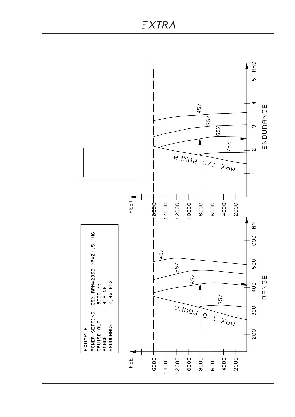
5.8 RANGE AND ENDURANCE
CONDITION:
T/O WEIGHT: 920 KG (2028 LBS)
TOTAL FUEL CAP.: 171 LTR (45.2 US GAL.)
INCL. WARM UP & T/O: 5 LTR (1.3 US GAL.)
RESERVE: 21 LTR (5.5 US GAL.)
UNUSABLE FUEL: 2 LTR (0.5 US GAL.)
T/O FROM SL AND MAX CONT. POWER CLIMB
TO CRUISING ALTITUDE
(ISA CONDITIONS)

Table of Contents

Related product manuals