EasyManua.ls Logo

ferrotec CARRERA - Wiring Diagram of the CARRERA 3;5;6 High Voltage Power Supply

ferrotec CARRERA
57 pages
Print Icon
To Next Page IconTo Next Page
To Next Page IconTo Next Page
To Previous Page IconTo Previous Page
To Previous Page IconTo Previous Page
Loading...
Version 1.3_15 EN
33
High Voltage Power Supply
Type: CARRERA
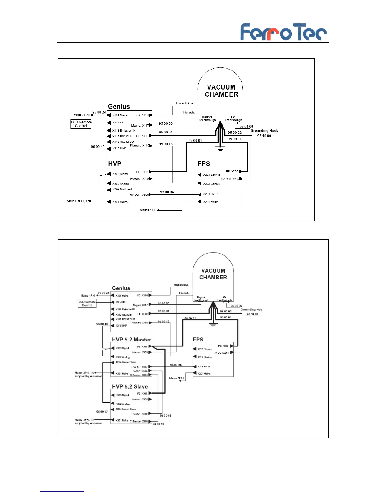
Fig. 5 Wiring diagram of the CARRERA 3/5/6 high voltage power supply
Fig. 6 Wiring diagram of the CARRERA 10/12 high voltage power supply

Related product manuals