EasyManua.ls Logo

Festo EduKit PA Basic - Page 15

Festo EduKit PA Basic
Print Icon
To Next Page IconTo Next Page
To Next Page IconTo Next Page
To Previous Page IconTo Previous Page
To Previous Page IconTo Previous Page
Loading...
© Festo Didactic 746310
15
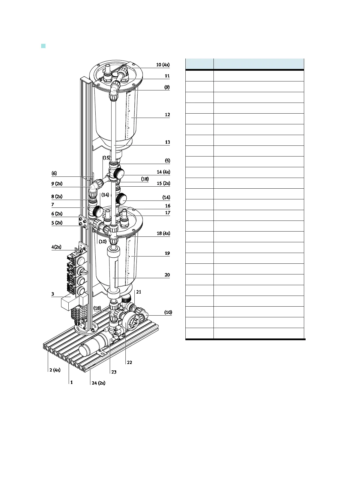
Übersicht EduKit PA Basic
Pos. Nr. Benennung
1 Profilplatte (20 mm x 200 mm x 350 mm)
2 Elastikpuffer
3 Elektrische Ansteuerung, komplett
4 Rohrhalter
5 Rohr 70 mm
6 Verbindungsplatte
7 Profil (20 mm x 40 mm x 180 mm)
8 Rohr 60 mm
9 L-Steckverbinder
10 Steckwinkel
11 Rohr 90 mm
12 Tank, oben
13 Rohr 300 mm
14 Handhebelventil
15 Rohr 80 mm
16 Rohr 75 mm
17 Rohr 240 mm
18 T-Verbinder
19 Tank, unten
20 Schwebekörper Durchfluss-Sensor
21 Rohr 65 mm
22 Manometer
23 Pumpe
24 Nutenstein
o. Abb. Verschluss-Stopfen

Table of Contents

Related product manuals