EasyManua.ls Logo

Festo EduKit PA Basic - Page 35

Festo EduKit PA Basic
Print Icon
To Next Page IconTo Next Page
To Next Page IconTo Next Page
To Previous Page IconTo Previous Page
To Previous Page IconTo Previous Page
Loading...
© Festo Didactic 746310 35
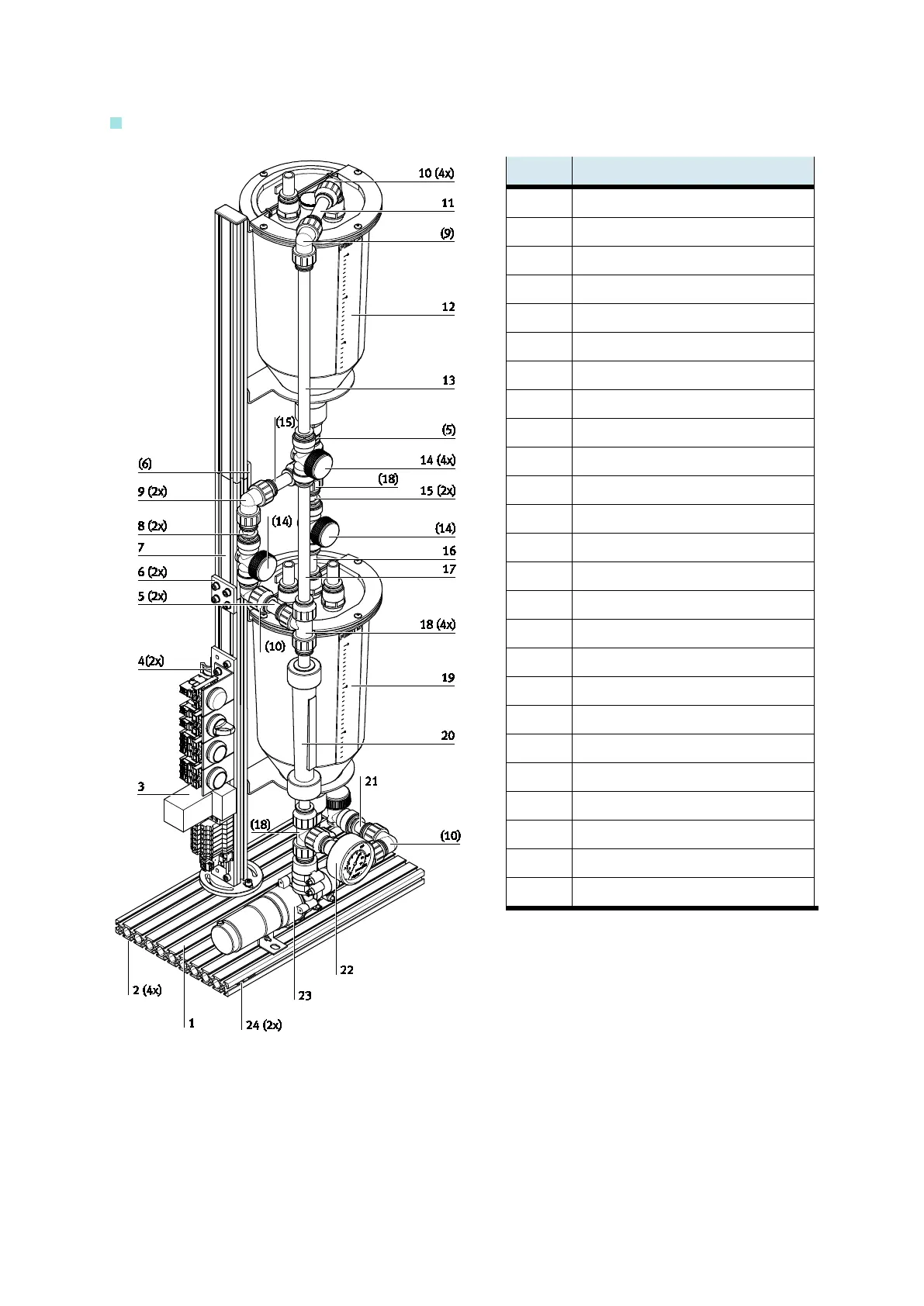
Overview of EduKit PA Basic
Item Designation
1 Profile plate20 x 200 x 350 mm
2 Cushion
3 Electrical actuation, complete
4 Pipe clamp
5 70 mm pipe
6 Connecting plate
7 Profile (20 x 40 x 180 mm)
8 60 mm pipe
9 Push-in L-connector
10 Push-in bracket
11 90 mm pipe
12 Upper tank
13 300 mm pipe
14 Manual valve
15 80 mm pipe
16 75 mm pipe
17 240 mm pipe
18 T-connector
19 Lower tank
20 Flow sensor, variable area principle
21 65 mm pipe
22 Pressure gauge
23 Pump
24 Slot nut
Above fig. Plug

Table of Contents

Related product manuals