EasyManua.ls Logo

Festo EduKit PA Basic - Page 75

Festo EduKit PA Basic
Print Icon
To Next Page IconTo Next Page
To Next Page IconTo Next Page
To Previous Page IconTo Previous Page
To Previous Page IconTo Previous Page
Loading...
© Festo Didactic 746310
75
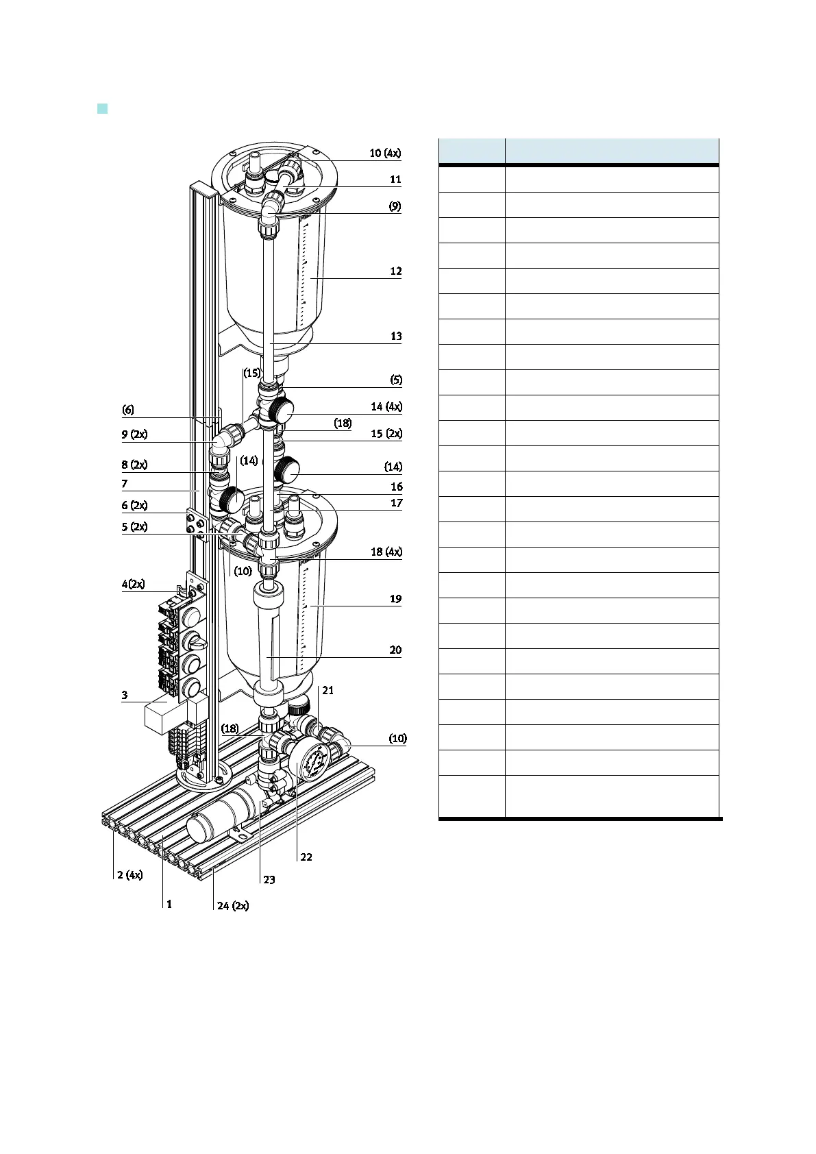
Nomenclature de l'EduKit PA Basic
Repère Désignation
1 Plaque profilée (20 mm x 200 mm x 350 mm)
2 Tampon élastique
3 Pilotage électrique, complet
4 Porte-tuyau
5 Tuyau 70 mm
6 Plaque de liaison
7 Profilé (20 mm x 40 mm x 180 mm)
8 Tuyau 60 mm
9 Raccord en L
10 Coude
11 Tuyau 90 mm
12 Cuve supérieure
13 Tuyau 300 mm
14 Robinet à manette
15 Tuyau 80 mm
16 Tuyau 75 mm
17 Tuyau 240 mm
18 Raccord en T
19 Cuve inférieure
20 Capteur de débit à flotteur
21 Tuyau – 65 mm
22 Manomètre
23 Pompe
24 Écrou pour rainure
non
représenté
Bouchon

Table of Contents

Related product manuals