EasyManua.ls Logo

Finn 5 Series - Page 76

Finn 5 Series
85 pages
Print Icon
To Next Page IconTo Next Page
To Next Page IconTo Next Page
To Previous Page IconTo Previous Page
To Previous Page IconTo Previous Page
Loading...
MB50 MU0518 Rev. A
70
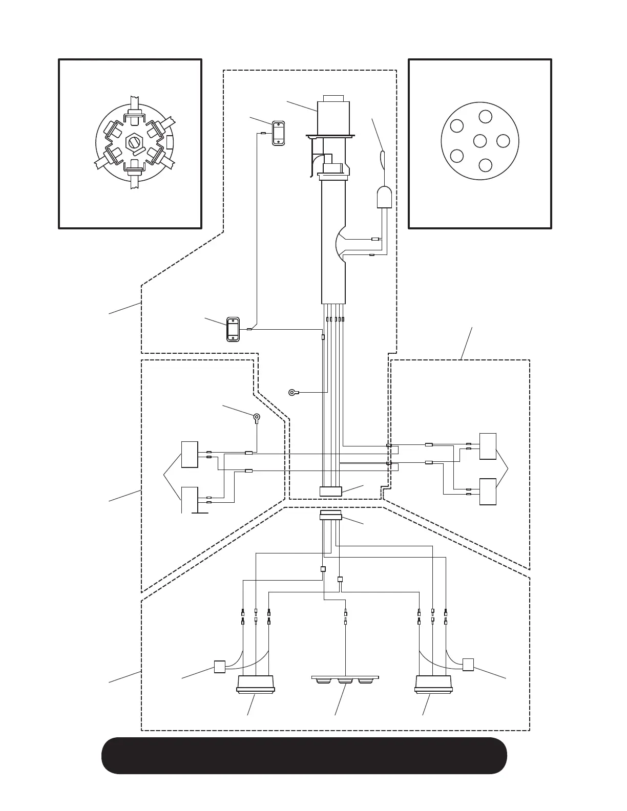
WHEN ORDERING PARTS, BE SURE TO STATE
SERIAL NUMBER OF MACHINE
NOT USED
RIGHT
TURN
(GREEN)
ELECTRIC BRAKES
(BLACK)
GROUND
(WHITE)
LEFT
TURN
(YELLOW)
TAIL LIGHTS
(BROWN)
075592 PLUG DETAIL
BROWN
RED
RED
BLACK
WHITE
GREEN
YELLOW
BATTERY
BLACK
BROWN
BROWN
BLACK
BROWN
BROWN
RED
RED
BLACK
WHITE
WHITE
BLACK
BROWN
BLACK
1
2
4
6
LH BRAKE ASSY
RH BRAKE ASSY
4
5
5
WHITE
WHITE
3
BATTERY
NEGATIVE
78
11 9
3
NOT USED
RIGHT
TURN
(GREEN)
GROUND
(WHITE)
LEFT
TURN
(YELLOW)
TAIL LIGHTS
(BROWN)
060069 / 060069A PLUG DETAIL
10
WHITEWHITE
9

Table of Contents

Related product manuals